【摘 要】不利的地形地貌条件制约了中国丘陵山区农业机械化发展。本文对日本农田宜机化改造的政策背景、技术标准体系、资金投入力度和取得成效等方面进行梳理与总结,结果表明,日本长达70多年的农田宜机化改造是丘陵山区机械化发展的重要经验,丘陵山区农田宜机化改造离不开健全的法律法规、完善的技术标准保障,以及政府持续不懈地投入和农户高度参与的工作机制。由此得出中国宜机化改造的政策启示:为推动宜机化改造,需要尽快出台国家农田建设法和系列丘陵山区宜机化改造技术规范,并加大投入力度提高农户积极性和参与度等。
【关键词】丘陵山区;宜机化;日本;农田整治
中国虽然连续17年实行了农机购置补贴政策,但占全国耕地和播种面积三成的丘陵山区的农业机械化水平仍远远落后于平原地区,严重影响了全国农业现代化进程,并可能导致抛荒和影响农产品供给安全[1]。土地条件是制约丘陵山区农业机械化进一步发展的第一因素[2],耕地禀赋条件差已成为丘陵山区农机化发展的“瓶颈”[3]。近年来,中国关于如何发展丘陵山区农业机械化问题,思路基本清晰,即通过农田宜机化改造为大中型农机提供作业条件[4,5]。2018年中国国务院出台了《关于加快推进农业机械化和农机装备产业转型升级的指导意见》,该意见明确提出要将适宜机械化作为农田建设工作的重要目标,重点支持丘陵山区开展农田宜机化改造。2019年中国财政部、农业农村部联合印发《农田建设补助资金管理方法》,明确将土地平整和田间机耕道作为补助资金的重要用途。同年中国农业农村部农业机械化管理司还成立了全国丘陵山区农田宜机化改造工作专家组,组织制定了《丘陵山区农田宜机化改造工作指引(试行)》。2020年中央一号文件《中共中央、国务院关于抓好“三农”领域重点工作确保如期实现全面小康的意见》中也明确强调“支持丘陵山区农田宜机化改造”。可见,宜机化改造已经成为中国推动丘陵山区农业机械化的重要抓手。
但是当前中国宜机化改造时间尚短,在技术标准、工作机制等方面仍不完善[6,7],出台的《丘陵山区农田宜机化改造工作指引(试行)》也相对比较简单,对实践的指导作用有限。而同为丘陵地区的日本经过了数十年的土地改良事业,在农田改造方面有很多经验值得借鉴。近年来,国内学者主要关注日本土地改良事业立法、历程与演变[8,9,10],土地改良区的制度、运行管理及政策扶持[11,12,13],以及农田基础设施建设标准和类型[14,15]等。但是从宜机化整治视角的农田改造标准、政府投入力度以及取得成效的文献还很缺乏。本文首先简要介绍了日本地形地貌与农业机械化,接着重点从法律法规、技术标准、工作机制、投入力度等方面进行系统梳理与分析日本农田宜机化的政治经验,尝试为中国丘陵山区农业机械化水平较低的现状寻找其中可借鉴的解决方案。
1日本地形地貌与农业机械化成效
丘陵山区占日本陆地总面积的70%,丘陵山区耕地占日本总耕地面积的41%,丘陵山区农户数占日本总农户数的44%,丘陵山区的农业产值占日本全国农业产值的41%1。因此,丘陵山区对于日本来说是极为重要的,如果没有丘陵山区的农业,日本就会面临巨大的粮食安全危机,无法实现稻米的基本自给。
然而要在整个国家工业化、农业劳动力老龄化的背景下发展农业,即使是丘陵山区的农业,也是离不开农业机械化的。1969年日本农业劳动力高达946万人,而2018年下降到仅228万人,农业劳动力下降75.90%,而以2004—2006年为定基的日本农业总产值指数却从98.33上升到99.16(图1)。同时,日本农业劳动力老龄化问题极为严重。根据日本农林水产省的农林普查数据,2020年日本主要从事农业生产的核心农业劳动力平均年龄是67.8岁。

图1 日本历年农业劳动力与农业总产值指数
数据来源:FAO。图2同。
由此可见,1969—2018年,日本在农业劳动力大幅度下降的历史背景下,农业产出不降反升,劳动生产率大幅度上升。这背后最重要的支撑力量就是农业机械化。这一点从拖拉机、收割机数量就可以看出(图2)。日本这两种最重要的农业机械到20世纪80年代就基本平稳甚至达到峰值。日本的主要农作物水稻,在20世纪70年代中后期就实现了机械化。但在1970年,日本农业机械化水平却较低,拖拉机只有1990年峰值的12.98%,收割机只有1989年峰值的6.69%。这中间发生了什么才出现了这样的飞跃?这当然有日本高额农机购置补贴的功劳,但没有农田的宜机化整治农机根本无法作业。这其中,日本从1949年开始的持续多年的土地改良计划起到了至关重要的作用。

图2 日本历年拖拉机、收割机数量
2日本农田宜机化主要措施
下面重点从法律法规、技术标准、工作机制、投入力度等角度,来分析日本土地改良中农田宜机化的主要措施与经验。
2.1完善的法律法规
1945年日本遭受了特大灾荒,出现了严重的粮食危机和经济危机。为了提高农产品保障能力,1949年日本制定出台了《土地改良法》。该法是日本开展农田基础建设的重要法律依据,规范了土地改良的原则、目的、实施主体[16]。截至2021年,日本《土地改良法》已经经过了17次修订,最近一次修订在2018年,其内容涵盖了农田灌排水、耕地整理开发、田间区划、土地平整、田间道路修建以及农村环境综合治理等。
根据日本《土地改良法》的规定,为了促进土地改良事业的计划实施,日本政府制定了土地改良计划。该计划是日本农地改良事业最重要的纲领性文件,通过农田、农业用水等农业生产基础整备,提高农业生产率,增加农业总产值,由日本农林水产省负责制定实施并跟踪评估计划执行效果。土地改良计划对每项农地改良事业预算及事业工作量都有明确要求,已经成为各级政府推进农地改良事业的依据和行动指南。日本的第一个土地改良计划于1965年实施,前四个土地改良计划基本上以10年为一个周期,2003年起土地改良计划实施期限由10年调整为5年。截至2021年前,日本已经完成了8个土地改良计划,新的土地改良计划(2021—2025年)正在实施。根据日本最新土地改良计划,日本农田的宜机化改造已经从初期的仅仅通过土地平整、合并适宜传统农机规模化、集约化作业,升级到适宜大中型的智能农机装备精准定位和作业,定位基站等基础设施建设成为新的建设重点,以使水田、旱田和果园等能够便利利用信息通信技术(ICT)更好适应农机自动行驶、水资源管理等[17]。为了促进土地改良区基础设施管理和维护,2014年日本农林水产省农村振兴局专门印发了《土地改良设施等基础设施长寿化计划(2014—2020年)》[18],实施内容主要包括农业水利设施、农道、农村排水设施、山地防护设施和海岸保全设施等。
为了推动农地的集中化、集约化和提高农业高附加值,为有意愿的农业从事者创造较好的农业生产条件,2013年日本政府制定了《农地中间管理机构法》,让中间管理机构起到土地银行的作用,将农地集中化、规模化。具体措施是将分散的农用地借入,并支付给农地出租人租金,然后进行农地条件整治,再出租给农地承租者,承租者可分期向中间管理机构支付租金,实现土地规模化经营[19]。为了推进农田整治,2018年日本农林水产省制定了《农业竞争力强化农田整治项目实施纲要》[20],并于2019年进行了修订。该纲要的实施主体是各都道府县农村振兴局,主要内容包括农地整备、实施计划等的制定、草地畜产基础整备、农村环境规划制定、农业基础建设和低成本农田整治推进实践工作。通过这一项目的实施,并与农地中间管理机构合作,在实现农地集约化的同时还能够提高农业生产效率、引进高收益作物、推动农地大区划化、水田通用化等,促进了农业竞争力的提高。
为了改善中山间地区(即丘陵地区)不利的农业生产条件,防止出现弃地、抛荒地等现象,更好地发挥中山间地区农业的多功能性,日本于2000年开始实施中山间地域直接支付制度。根据2014年日本《关于促进农业多功能法》,将中山间地域直接支付制度与多功能支付制度、环境友好型农业直接支付制度作为一项稳定措施实施。中间山地域直接支付制度政策实施周期是5年,目前已经进行到第五期(2020—2024年)。根据该政策,对一些急倾斜地(水田倾斜率在1/20以上,旱田、牧草地等在15°以上)、缓倾斜地(水田倾斜率在1/100以上,旱田、牧草地等在8°以上)以及小地块和不规则的水田等农地的农田整治与维护工作进行补助;补助对象是在该地区从事农业生产活动达5年及以上的农民;补助标准为根据不同实施项目实行定额补贴,对部分地区还会追加其他补助,如超急倾斜农地保全管理追加补贴、村落协定追加补贴、提高生产力追加补贴等。如果在5年协议期内不再进行农业生产活动,原则上之前的全部补助金将退回到协议批准之年。近年来,由于人口减少和老龄化加剧,很多中山间地区梯田面临荒废的危机,出于对保护梯田地区农业的多功能性(如历史文化、国土保护、美丽景观、教育等功能)考量,日本政府于2019年还专门出台了《梯田地域振兴法》,并将该区域的振兴农业生产、改善农民生活等项目补助纳入中山间地域直接支付制度中。
整体看,日本在农地整治方面的法律法规较为完备,并专门制定了支持丘陵山区农田整治的相关法律法规。以土地平整、促进规模经营为主要内容的相关法律法规的制定,为日本农业机械化的发展提供了前提条件。
2.2完备的技术标准体系
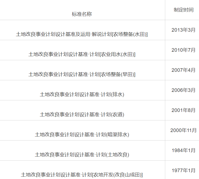
标准体系的构建是农田进行标准化改造的重要前提。日本非常注重土地改良的标准体系建立,制定了系列土地改良设计标准(表1),而且适宜农机作业是这些标准考量的重要因素。
表1 土地改良事业计划设计主要标准

如2013年3月,日本农林水产省农村振兴局发布的《土地改良事业计划设计基准·农场整备(水田)》[21],包括总论、调查、计划和施工四部分。其中第三部分中明确提出了要制定农业机械利用计划,并且要根据农业机械利用计划来确定道路宽度、农田宽度等。
在水田整备规划中,整个项目区可以分为农区、耕作区和耕区。在一个农区内,水资源管理、农机作业体系、农艺栽培体系、农业经营体系等相同。耕作区指在一个农区内被小排水道分开的区域,即稻作中能够进行水资源管理的最大区划。耕区是耕作区的最小单位,在耕作区内可随时移动或拆除平行于耕作区短边的田埂来设置耕区。农区、耕作区和耕区的关系如图3所示。

图3 耕区、耕作区和农区的关系
设计标准的耕区形状和面积主要从以下四个方面进行考虑:一是农机具作业效率;二是地形与坡度;三是用水和排水可利用性;四是社会经济条件,如土地所有权情况、土地交换的难易程度等。对于平地,单位耕区为宽30米、长100~150米、标准面积为0.30~0.45公顷的长方形。为有效确保农田的排水性能、考虑农机田间作业效率,大面积水田耕作区的短边长由离小水渠允许的最长距离决定,原则上为100~150米[22]。耕作区的长边决定因素与短边决定因素完全相同。耕作区的长边分割成的单位分段部分就是耕区的长边,其长度原则上为300~600米。而对于一些倾斜度较大且地形比较复杂的地区,难以划分耕作区、农区,特别是3°以上的陡坡地,由于地形复杂,区划形状与面积需考虑土工量、农业机械化作业效率、农业机械进出的安全性以及社会经济条件等。通常情况下这类地区的区划形状是一个长边沿着等高线将小水渠和通作道路(纵支线农道)的倾斜方向取等高线配置的棋盘状长方形区划(即通常所说的梯田),而沿着倾斜度方向的区划间、排水路以及夹着道路连接的区划之间会产生阶差。图4就是在坡地上根据等高线区划的一个示例。

图4 坡地上根据等高线区划的配置实例
日本在农道设置上也有相应的设计标准。根据《土地改良事业计划设计标准(农道)》[23]分类,农道可以分为主干农道和农场内农道(干线、支线、耕作道)。农道的构成要素主要有路体、路基、铺装(沥青、混凝土、土砂)、排水、主要构造物、附带构造物、交通安全设施等。农道的基本要求就是要保证配套的农机可以安全通行。
日本旱田整备设计标准内容与水田整备基本相同,包括总论、调查和规划等内容。与水田相比,旱田规划的耕区形状和面积可以根据栽培体系、经营规模等情况进行变化,有较强的可变性。但无论如何变化,为了便于农业机械作业和提高农机作业效率,耕区的坡度要控制在一定范围内,耕区长边的长度要尽量长,但需受到农机装载量、作业幅宽以及施肥量等因素制约;耕区的短边长度由农机作业的最小转弯掉头半径、主要农机的作业幅宽的最小公倍数来决定。耕作区是开展农田整治的基本区划单元,还需从农地保护、用排水、防风林等多个角度出发设定合理的形状和面积[24]。
综上所述,在日本的土地改良标准体系中,道路设计、地块形状和坡度设计等都需要重点考虑如何适宜农业机械的最低限度甚至高效率作业。标准化、规格化的长宽,长条形的耕区,以及到达每个耕区适合农机通行的农道,为农机的耕区内作业和耕区间转移提供了十分便利的条件,为日本农业机械化的腾飞提供了重要基础条件。
2.3农户高度参与的工作机制
根据《土地改良法》,日本的土地改良事业主要基于设置的土地改良区来进行,宜机化整治工作也是在土地改良区内实施。土地改良区是农民自治组织,由15户以上农户(每户拥有耕地面积要在0.1公顷以上)通过联合自主申请组成。
由土地改良区申请的土地改良事业内容需以公告方式征得区域内2/3以上农户同意后向都道府县提出申请,相关项目计划、章程等经过审核同意后方能实施,实施流程见图5。在实践中,那些由都道府县主导的农田维护管理工程往往会尽可能获得更多农户的同意,以便现场施工以及项目实施后的设施管理、收缴会费等。但是某些项目如垃圾填埋、填海、农业排水设施的抗震项目、灾难或者突发事件,国家或都道县府可以主动执行这些项目,无须申请。此外,以农地中间管理机构借入的农地为对象实施的农田基础设施整备工程,满足一定条件的,也可以不用考虑农户申请、同意与否,都道府县都可以实施。

图5 日本土地改良事业实施流程
从根本上讲,日本的土地改良事业由农户申请同意方能实施,同样农户也需要承担一定比例的建设成本,负担比例根据工程性质、规模的不同而有所区别。一般由国家或者都道府县实施的中山间地区农地改造工程、综合整备工程,农户的承担比例在3%左右,而由土地改良区主导实施的中山间地区综合整备工程,除了国家投资补助50%外,其他相当一部分建设成本需由农户和土地改良区承担,具体比例见表2。根据日本《土地改良法》相关规定,“土地改良区可以以位于其区内的土地数量为依据,对其协会会员征收课捐、金钱、劳力及实物”。项目实施后,一般的农地维护管理工程还需由受益农户所在的土地改良区负责。
表2 不同实施主体主要土地改良事业补助标准
单位:%

综上所述,日本的土地改良事业离不开农户的高度参与。项目实施前由土地改良区的受益农户提出申请需求,经2/3受益农户同意后实施,且受益农户还需承担一定比例的建设成本,项目完成后受益农户还需负责工程后期维护管理。
2.4持续多年的大力投入
农田整治一直都是日本农林水产省预算的重点。从2020年日本农林水产省农业农村整备事业费(公共事业)预算的事项看2,利用中间管理机构推动农地集中、大区划整理、水旱田通用化等事业费为1291.27亿日元,占农业农村整备事业费(公共事业)的39.56%,约占四成,这些农田改造措施也恰恰是为了推动适宜农业机械作业。
宜机化改造在日本农林水产省的多个计划事业中都有涉及,主要有国营农地整备事业、农业竞争力强化基础整备事业、中山间地区农业农村综合整备事业、农地耕作条件改善事业、中山间地区农业复兴事业、中山间地区直接支付补助金等。从具体内容看,与宜机化相关的工程主要是农地大区划整理、农场道路维护管理、引进信息通信技术适宜精准机械作业(智慧农业基础设施整备事业)等。
从公共事业的各项预算投入看,农业竞争力强化基础整备事业对宜机化改造投入较高,并且有逐年增加的趋势,从2013年的324.17亿日元增加至2020年的808.19亿日元,年均增长率达到了13.94%(图6)。

图6 2013—2020年日本农业竞争力强化基础整备事业费
数据来源:根据日本农林水产省网站农业农村振兴局预算整理,https://www.maff.go.jp/j/budget/。图7同。
从非公共事业预算看,日本中山间地区直接支付补助金是农田宜机化改造投入的重点。日本对农地改造采取单位面积定额补贴的具体额度见表3。据最新的第五期中山间地区直接支付制度实施方案看,日本《梯田地域振兴法》中规定的梯田地域还新设了梯田地区振兴项目追加补贴,补贴额度是每0.1公顷补贴1万日元。从投入总量看,2010—2020年日本中山间地区直接支付补贴金有较大波动,2013—2015年这三年补助金较高,自2016年基本稳定在263亿日元(图7)。
表3 中山间地区不同类型农地每0.1公顷单位补贴额度
单位:日元

资料来源:根据中山间地区等直接支付制度相关资料整理,https://www.maff.go.jp/j/nousin/tyusan/siharai_seido/#sanko。

图7 2010—2020年中山间地区直接支付补助金
综上所述,日本主要通过大区划整理农田、机耕道建设、农田智能化建设等方面实施宜机化改造,整个农田改造预算占比约为四成,近年来投入也较为稳定。
3日本宜机化改造取得的成效
日本自1964年起水田面积有所下降;但是通过农田整备,单块面积在0.3公顷以上的田块整备面积有较大幅度增长,从1964年的8万公顷上升到2017年的158万公顷,农田整备率从2.4%上升到65.3%;单块面积在0.5公顷以上的田块从1983年的7万公顷上升到2017年的25万公顷,农田整备率从2.2%上升到10.2%(图8)。根据日本最新土地改良长期计划(2021—2025年),通过推动农地整合促进规模化经营,水稻生产成本中劳动力费用将减少约四成,大大提高了劳动生产率。
从土地改良区和土地改良项目看,截至2017年,日本土地改良区有4504个,会员数有356.9万人,涉及土地面积253万公顷(表4)。从规模看,日本100公顷以下土地改良区数量逐渐减少,从1960年的63.1%下降到2011年的45.2%;[100,300)公顷、[300,500)公顷、[500,1000)公顷、[1000,5000)公顷、5000公顷及以上的土地改良区数量都有不同程度增加(图9)。其中1000公顷及以上的土地改良区数量显著增加,土地改良事业促进了日本农地的集约化、规模化,为大型农业机械作业提供了非常便利的条件。

图8 日本主要年份水田整备情况
数据来源:根据日本农林水产省网站相关资料整理,http://www.maff.go.jp/j/council/seisaku/nousin/bukai/h27_7/pdf/siryou3.pdf。
表4 日本主要年份土地改良区

数据来源:根据日本农林水产省网站资料整理,http://www.maff.go.jp/j/wpaper/w_maff/h24_h/trend/part1/chap3/c3_9_04.html。

图9 按面积规模分类的土地改良区地区占比
数据来源:根据日本农林水产省网站资料整理,http://www.maff.go.jp/j/wpaper/w_maff/h24_h/trend/part1/chap3/c3_9_04.html。
日本通过不断制定、完善相关政策法规,以及实施土地改良事业,不仅加快了农田整治和土地集中,也有效地提高了农业机械化水平。日本主要作物机械化水平早在20世纪80年代中期就已经实现。从提高劳动生产率看,机械化的发展大大缩减了水稻劳动时间,特别是在耕整地、种植、除草、收割脱粒等环节作业。从表5可以看出,机械化在种植、除草、收割脱粒环节节约人工方面最为显著,时间缩减率分别为85.8%、90.0%和90.1%。
表5水稻种植每0.1公顷直接劳动时间减少情况
单位:小时

数据来源:根据日本农林水产省网站相关资料整理,https://www.maff.go.jp/j/council/sizai/kikai/16/pdf/data2_2.pdf。
4日本农地改造对中国丘陵山区宜机化改造的启示
通过上述日本有关农田整治法律法规、技术标准和投入成效等梳理与分析,对中国丘陵山区宜机化改造和农业机械化发展得出以下启示。
4.1宜机化改造需要法治保障
为了有效推动农地整备,日本制定了门类健全、综合配套、体系完整的法律法规。1949年日本制定《土地改良法》。该法是日本开展农田基础建设的重要法律依据,规范了土地改良的原则、目的、实施主体,确立了土地改良区在农田基础建设中的地位和作用。日本通过制定《农地法》《食物·农业·农村基本法》《农地中间管理机构法》《山村振兴法》等一系列法律法规,有效保障了农地改良事业的发展。面对农业农村内外部环境的新变化,日本还不断调整政策目标,修改法律以促进农业农村发展。截至2021年,日本《土地改良法》已经经过了17次修改,同时已经完成了8个土地改良计划。当前中国针对农田改良和建设还没有专门法律,仅在《中华人民共和国土地管理法》的个别条文里提到土地整理和耕地保护,建议尽快出台国家层面的农田建设法律法规,并针对丘陵山区的农田改造给予更高的补贴标准。
4.2宜机化改造离不开技术标准
日本针对农地整备、耕地整理都有一套完备的技术标准文书。日本与土地改良事业计划相关的标准主要包括《土地改良事业计划设计基准·计划(排水)》《土地改良事业计划设计基准·计划(农道)》《土地改良事业计划设计基准·计划[农业用水(水田)]》《土地改良事业计划设计基准·计划[农场整备(旱田)]》等。每一个项目都包括标准文本、标准操作、标准和操作的说明及技术手册4个部分。
中国于2013年、2014年和2016年先后颁布实施《全国高标准农田建设总体规划》《高标准农田建设通则》和《高标准农田建设评价规范》,但是针对丘陵山区农田整治、宜机化改造的相关技术标准文件还存在国标或行标缺位的情况,应参照结合日本有关农地整备技术标准规范和中国重庆、山西等地的地方标准,尽快出台中国丘陵山区宜机化改造的系列技术规范。
4.3政府投入、农户高度参与是较好的工作机制
农田基础设施建设是一项公共工程。在日本,农田基础设施建设费用主要以国家预算为主。仅2020年日本农林水产省农业农村整备事业费(公共事业)预算中与农地整备相关的农地大区划、水旱通用化等费用占农业农村整备事业费(公共事业)的39.56%,农业农村整备相关事业费(非公共事业)预算中以用于丘陵山区农田改造维护的中山间地区直接支付补助金为主。在日本,政府是重要的农田建设投资主体。
但日本政府并不是农田基础设施建设的唯一投资主体和项目实施主体,农民参与程度非常高。在日本,要进行土地改良,需要15户以上农户成立1个土地改良区,需要2/3以上的农户同意实施土地改良项目,同时需要成立土地改良区委员会(5个以上理事、2个监事)。根据不同项目实施主体,土地改良区协会会员农户承担农田基础设施建设经费比例在3%~23%。
当前中国农田基础设施建设项目的主要资金来源也是政府,但投入标准和力度都有待提高。目前很多地方由于1500元/亩3的建设标准不足以完成《高标准农田建设通则》中的土地平整、土壤改良、灌溉排水、田间道路、农田防护、农田配电6项工程,因此通常只修路、修渠,而且只改造地形条件本来就较好的土地,导致实际改造效果大打折扣。同时,由于农户参与度不够,导致高标准农田的相关工程设计存在不合理的问题,使得项目资金使用效率大打折扣。今后应加大投入力度,将农民、农业企业、农业专业合作社、村集体经济组织等农田使用维护主体作为农田建设主体,通过“先建后补、定额补贴”等措施,提高农户积极性和参与度,并由此增加社会投资来源。
4.4宜机化改造是农业机械化发展的重要保障
从日本对农田整治的设计标准看,标准规划中都包括农业机械利用计划,耕作区形状的设置都从利于农业机械高效率作业、规模化经营等方面考量。日本土地改良事业的实施不仅加快了农田整治和土地集中,也有效地提高了农业机械化水平。日本主要作物机械化水平早在20世纪80年代中期就已经实现。
日本的农地整备事业先行于农业机械化事业的全面发展,为农业机械化的全程全面发展提供了重要先决条件。中国丘陵山区农业机械化的发展不应走向设计过于小型化的农机来适应地形这一“以机适地”的单一道路,同时也应该改善农机作业基础条件来适应农业机械化作业的要求。
参考文献:
[1]张宗毅.“十四五”期间丘陵山区农田宜机化改造若干重大问题与举措[J].中国农村经济,2020(11):13-28.
[2]陈建.我国丘陵山区应对农机化两大困境的新对策:基于宜机化土地整治[J].农机化研究,2019(4):1-4.
[3]崔思远,金雪婷,曹光乔.我国丘陵山区农机化水平影响因素及区划研究:基于全国丘陵山区238个县(市)的调研数据[J].中国农业资源与区划,2018(11):129-134.
[4]敖方源.农田宜机化改造技术创新与推广应用[J].农机科技推广,2019(8):30-33.
[5]李学依.各地积极推进丘陵山区农田宜机化改造[J].中国农机监理,2020(8):27.
[6]陈燕,李虎,柯永峰,等.丘陵山区宜机化改造的经验与启示[J].农机科技推广,2020(11):15-23.
[7]王桂显.宜机化改造助力丘陵山区农业机械化发展[J].农机科技推广,2020(11):11-14.
[8]赵谦,吴悠.日本土地改良立法及对中国的启示[J].世界农业,2017(6):109-113.
[9]刘德娟,林树文,曾玉荣.日本土地改良事业的演变、特征及其成效[J].现代日本经济,2017(5):40-51.
[10]程广燕,薛桂霞,赵晓慧,等.日本农地改良事业做法及对我国的启示[J].中国农业资源与区划,2017,38(3):226-230.
[11]李树君,李纪岳.中国村民自主建设机制与日本土地改良区建设机制比较研究[J].改革与开放,2017(5):46-47.
[12]陈伟忠.日本土地改良区的农田基础建设及其对中国的启示[J].世界农业,2013(12):22-27.
[13]李文.日本农业土地改良(水利)基层组织:土地改良区[J].中国农村水利水电,1996(10):11-12.
[14]李树君.日本农田基础设施建设工程类型、特点和保障措施[J].世界农业,2015(11):177-179.
[15]李纪岳,李树君,赵跃龙.日本农田建设标准体系变迁及构成分析[J].世界农业,2016(2):107-111.
[16]石彦琴,赵跃龙,日本农田建设标准的制订及管理[J].农业展望,2015,11(10):51-54.
[17]日本农林水产省.土地改良长期计划(2021—2025)总体纲要[EB/OL].[2021-04-07].https://www.maff.go.jp/j/nousin/sekkei/totikai/attach/pdf/h28_choukei-25.pdf.
[18]日本农林水产省.山村振兴法的一部分修正概要[EB/OL].(2015-06-01)[2020-03-03].https://www.maff.go.jp/j/nousin/tiiki/sanson/s_houritu/pdf/aramasi.pdf.
[19]日本农林水产省.关于推进农地中间管理事业的法律[EB/OL].(2013-06-14)[2020-03-03].https://www.maff.go.jp/j/keiei/koukai/kikou/attach/pdf/index-36.pdf.
[20]日本农林水产省.农业竞争力强化农田整治项目实施纲要[EB/OL].(2018-03-30)[2020-03-04].https://www.maff.go.jp/j/nousin/keiiku/noutiseibi/attach/pdf/index-43.pdf.
[21]日本农林水产省.土地改良事业计划设计标准及运用解说(水田)[EB/OL].(2013-03-22)[2020-03-18].https://www.maff.go.jp/j/council/seisaku/nousin/bukai/h24_4/pdf/ref-data2-1.pdf.
[22]日本农林水产省.土地改良工程规划设计指南—大面积水田规划[EB/OL].(2013-03-22)[2020-03-18].
[23]日本农林水产省.土地改良事业计划设计标准(农道)[EB/OL].[2020-03-03].https://www.maff.go.jp/j/council/seisaku/nousin/seibibukai/gijutu_syoiinkai/h15-2/pdf/data4-1.pdf.
[24]日本农林水产省.土地改良事业计划设计基准计划·农场整备(水田)[EB/OL].(2006-03-23)[2020-03-01].https://www.maff.go.jp/j/council/seisaku/nousin/seibi/7/pdf/ref_data1.pdf.
注释:
①数据来源:日本农林水产省《2015年农林普查》《2015年农业用地和种植面积统计》《2015年农业收入统计》,日本内政和通信部“农业收入年人口普查”。