省委办公厅 省政府办公厅
印发《打造精简高效政务生态
实施方案》等12个方案
近日,经报省委、省政府同意,省委办公厅、省政府办公厅印发《打造精简高效政务生态实施方案》等12个方案,要求各地各部门认真贯彻落实。
打造精简高效政务生态实施方案
为持续推进行政审批制度改革,根据省委、省政府关于深化制度创新加快流程再造的要求,现制定打造精简高效政务生态实施方案。
一、工作目标
全面“减权放权授权”,大幅压减行政权力事项,充分向市县放权,推动简政放权向纵深发展。实施精准定向赋权,将能够赋予的省市两级经济管理权限全部赋给中国(山东)自由贸易试验区、中国—上合组织地方经贸合作示范区、青岛西海岸新区、国家级开发区等功能区行使,做到“区内事区内办”,大幅降低制度性交易成本,推动高质量发展。
二、主要任务
(一)依法压减行政权力。省直各部门(单位)按系统逐一深入论证现有行政权力事项,列出压减事项清单,对不适应经济社会发展需求的坚决取消;对基层办理更加便捷高效的尽快下放;对市场机制能够有效调节的,转变管理方式,不再保留审批和许可。2020年12月底前,全面取消市级层面设定的行政许可。对需要修改或调整适用的相关法律法规规章及规范性文件,涉及中央层面的,提出建议按程序上报;涉及省级层面的,结合我省地方性法规、政府规章和规范性文件清理工作,提出立改废意见,按程序通过后向社会公布。
(二)全面下放省级权力。按照“应放尽放、减无可减、放无可放”的原则,将省级权力事项除涉及国家安全、公共安全、生态安全和意识形态安全等重大敏感事项外,全部下放给各设区的市实施。先期在济南、青岛、烟台市开展试点,由3市提出省级行政权力事项需求,省直有关部门(单位)统筹研究提出放权意见,按程序下放。运行一段时间后,对承接运行情况进行评估,根据评估结果,2020年12月底前扩展到其他13个设区的市实施。
(三)扎实推进“市县同权”。2020年6月底前,综合运用直接下放、服务窗口前移和下放实质性审核权等方式,将市级行政许可事项调整由县级实施,提升县域发展要素聚集能力。对法律法规没有明确规定实施层级的事项,直接下放到县级实施;对法律法规规定不能下放和委托的事项,采取前移服务窗口的方式,派驻人员在县级设立专门受理点(窗口),办理市级许可事项;对无法前移服务窗口办理的事项,采取受理审核权与批准权适当分离、受理审核权下放、完善“审核转报件”的方式,由县级部门(单位)行使实质性审核职权、依法承担相关法律责任,市级部门(单位)不再进行实质性审核。对与行政许可相关联的行政权力、公共服务和收费等事项,应当一并下放,确保关联事项能在同一层级“一链办理”。
(四)实施精准定向赋权。根据中国(山东)自由贸易试验区、中国—上合组织地方经贸合作示范区、青岛西海岸新区、国家级开发区等功能区的用权需求,将省市两级各项经济管理权限放足放到位,实现涉企投资审批扁平化、便利化,做到“区内事区内办”。中国(山东)自由贸易试验区、中国—上合组织地方经贸合作示范区工作机构设立后1个月内提出赋权意见,按程序提请同级政府研究后予以公布。
(五)清理整治变相审批许可。对各级《政府部门权责清单》中,所有依相对人申请办理的其他行政权力事项和公共服务事项,在实施中存在的以备案、登记、注册、目录、年检、监制、认定、认证、专项计划等形式变相设置、实施的审批和许可进行清理整治。面向社会公开征集变相实施审批和许可问题线索。各市、省直有关部门(单位)就公开征集反映的问题和自查问题分别制定整改方案,提出简化、优化管理措施,规范行政权力运行。
三、保障措施
(一)加强组织保障。各级各部门要高度重视,建立党委(党组)主要负责同志抓落实机制,明确牵头单位、专责人员,统筹推进工作任务落实和督促检查。对确需下放给基层的审批事项,要在人才、经费、技术、装备等方面予以保障,并做好业务培训,确保基层接得住、管得好。
(二)强化沟通协作。对于拟下放事项,省直各部门要深入征求下级部门或行政审批服务局的意见。市级有关部门和各功能区要结合“高频事项”“一链办理”事项梳理等工作,积极向省政府办公厅和省直各部门反映用权需求,确保放权精准科学。适时组织开展下放权力事项评估工作,凡是在基层运行不畅、效果不好的事项,按照程序予以收回。
(三)落实同权同责。各市、县(市、区)要根据减权放权授权情况及时调整本级权责清单,加强对承接部门的监督管理,确保相关责任落实到位。承接部门要依法履行对相关事项的审批监管职责,创新监管方式,强化日常监督管理。省有关部门要加强对下放权力事项的指导和监督,对委托下放事项,委托主体要承担法律责任,负责监督受委托部门规范实施行政权力,发现问题及时予以纠正。
再造企业开办流程实现“全程网办”实施方案
为全面提升企业开办服务水平,根据省委、省政府关于深化制度创新加快流程再造的要求,现制定再造企业开办流程实现“全程网办”实施方案。
一、工作目标
再造企业开办流程,实现新开办企业营业执照申领、社保登记、医保登记、住房公积金开户登记、印章刻制、涉税办理相关信息一表填报,同步启动银行开户在线预约;将企业开办合并为营业执照申领、社保登记、医保登记、住房公积金登记和印章刻制、涉税办理2个环节,全程网办,1个工作日内办结,办理结果及时反馈;政府免费为新开办企业提供一套印章(公章、财务章、发票专用章、法定代表人名章四枚)、发票及税控设备,并根据不同类型提供相应“政策包”。
在完成材料指导服务基础上,营业执照申领、社保登记、医保登记、住房公积金开户登记0.5个工作日内完成,印章刻制、涉税办理0.5个工作日内完成。确保申请人1个工作日内即可领取或免费获寄营业执照、印章、发票(不含增值税专用发票)及税控设备。
二、主要任务
(一)推行全程网办
1.强化流程再造。各相关部门要按照“手续更简,环节更少,成本更低,效率更高”原则,对各自的相关业务系统进行改造重塑,将必要的后续事项与营业执照申领合并,构建企业网上申报、部门网上审批、证章和税控设备免费寄递“零见面”的企业开办服务新流程。申请人一次登录企业开办“一窗通”系统,一表填报与营业执照申领、印章刻制、涉税办理、社保登记、医保登记、住房公积金开户登记等相关信息,实现在线申请、在线签名、在线选择预约开户银行网点。相关部门在规定时间内完成网上审批,审批结果后台流转,统一出件窗口发放营业执照、印章、发票及税控设备。
2.升级再造“一窗通”系统。依托全省一体化在线政务服务平台,按照“登录一个平台、填报一次信息、后台实时流转、即时反馈信息”原则,全面优化再造“一窗通”系统,实现印章刻制、涉税办理、社保登记、医保登记、住房公积金开户登记信息与营业执照申领信息简并采集,系统自动及时分类推送,及时反馈办理结果。提升包括电子认证、电子签名、在线提交、在线审核、网上发照、电子归档在内的企业登记全程电子化水平。推进部门间数据共享,实现数据辅助审查。全面推进电子营业执照在政务服务领域的广泛应用。
3.推广“智能审批”。支持有条件的地方推广“智能审批”企业开办模式,在政务服务中心、社区服务中心、市场监管所、银行网点、办税大厅等场所设置自助申报一体机,对自然人投资的有限公司、个体工商户、个人独资企业以及企业法人设立的分支机构等市场主体,实现无纸化申请,系统自动完成营业执照办理。
4.探索“全域通办”。充分发挥“一窗通”系统全省“一张网”优势,支持申请人在省内任一地点申请其他区域的营业执照,通过企业所在地企业登记机关核准后,即时生成电子营业执照,申请人在省内任一地区均可领取纸质营业执照,实现异地申领执照。
5.试行“掌上开办”。推进“一窗通”系统嵌入“爱山东”APP,实现企业开办“掌上办”。各地可在此基础上,探索实行公众号、微信小程序、支付宝小程序等第三方应用程序办理企业开办业务。
(二)优化政务服务
6.规范登记注册服务。按照“标准化、智能化、自动化”原则,优化企业名称自主申报系统,完善自然人身份实名验证系统,简并申报材料,推进经营范围规范化标准化。按照国家有关部署,稳步扩大简易注销范围。
7.提高印章刻制效率。通过系统合理派发印章刻制任务,确保印章刻制机构2个小时内完成印章刻制,并及时送达统一出件窗口,为企业用户提供优质高效的服务。
8.提高涉税办理效率。推进“新办纳税人套餐服务”,将需补录的涉税信息与营业执照申领信息录入一并采集,进一步简并流程、提速审批,实现线上申请、线上核验、一次办结。税务部门2个小时内完成涉税事项办理,并将发票及税控设备送达统一出件窗口。
9.简化社保医保登记。全面推行社保医保登记经办服务网上办理,整合办事环节、简化办事材料。将就业登记、社保登记、劳动用工备案“一个入口”登记,纳入“一窗通”系统。社保医保部门收到“一窗通”系统推送的企业登记信息及参保信息后,即时办理企业社保医保登记,并将办理结果反馈申请人。
10.实现公积金网上登记。通过“一窗通”系统推送住房公积金网上开户信息,各市住房公积金管理部门收到企业登记信息和住房公积金缴存登记信息后,即时办理企业住房公积金开户登记,并将办理结果反馈申请人。
(三)优化线下服务
11.优化实体窗口服务。行政审批服务部门应集中优化设置含有企业登记、印章刻制、涉税办理等功能的企业开办综合办理区域,设置领取或免费寄递营业执照、印章、发票及税控设备的统一出件窗口。鼓励有条件的地方配备证章免费寄存设备、营业执照及发票自助打印设备,为企业开办提供一站式服务。
12.提升帮办代办水平。各级政务服务大厅应提升主动服务意识,合理设置自助服务区,配足配优帮办代办人员,优化贴心帮办代办服务,鼓励有条件的地方购买专业帮办服务,提升企业开办效能。开辟绿色通道,为新旧动能转换等重大项目提供预约服务,为退役军人、高校毕业生、返乡农民工等群体创业开办企业提供优质服务。
13.推广“政银合作”模式。大力推行“银行网点代理申请登记注册”等便利化举措,扩大“政银合作”范围,建立企业登记部门与商业银行系统对接、资源共享、优势互补服务新模式,发挥银行网点多、覆盖广、服务好等优势,延伸企业开办服务链条,提供企业登记、银行开户、金融服务,将服务延伸到社区、乡村,方便群众就近办事。
三、保障措施
(一)加强组织领导。创新行政管理和服务方式,健全工作机制,抓好企业开办流程再造的组织领导和实施,制定相关工作方案,明确时间表、路线图、责任链,落实资金保障。省直各相关部门要密切配合,加强对本系统流程再造工作的督促指导,确保目标任务落实到位。
(二)抓好工作落实。要追踪和记录企业办事流程信息,为申请人提供动态查询办事信息的便捷渠道。任何单位和工作人员不得擅自设置企业开办其他条件和要求,一经发现要逐级上报并坚决予以清理整顿。
(三)强化宣传培训。各级各相关部门要结合工作任务,加强对窗口业务人员、帮办代办人员企业开办相关知识培训,熟练掌握全程网办业务流程。通过报刊、广播电视、互联网、新媒体等途径,广泛宣传企业开办减时间、减环节和新流程、新措施,促进大众创业万众创新。
企业开办流程再造后图例

全面优化工程建设项目审批流程实施方案
为提高工程建设项目审批效率,根据省委、省政府关于深化制度创新加快流程再造的要求,现制定全面优化工程建设项目审批流程实施方案。
一、工作目标
瞄准国际通行规则和评价标准,对标国内最先进理念和工作水平,以市场主体的评价来衡量改革成效,以解决实际问题为导向,对工程建设项目审批制度进行全流程全覆盖改革和科学化标准化再造,主攻工程建设项目审批流程、信息数据平台、审批管理体系、监督管理方式“四个统一”,力抓一张蓝图、一个系统、一个窗口、一张表单、一套机制“五个重点”,全力打造手续最简、环节最少、效率最优的审批管理体系。建设全省工程建设项目审批管理系统,并与相关系统平台互联互通;2020年起全省工程建设项目审批全部纳入审批管理系统上线运行。积极探索分区域、分类别精准优化审批流程,精细压减审批时间,全省范围内工程建设项目全流程审批时间最长不超过100个工作日,最快的简易低风险项目不超过20个工作日。
二、主要任务
(一)进一步精简审批事项和条件。对工程建设项目审批链条上的政务服务事项进行梳理规范,该取消的取消,能合并的合并,事项总数压减1/3以上。进一步精简事项申请材料,整体压缩50%以上。对通过事中事后监管能够纠正且不会产生严重后果的行政审批事项,实行告知承诺容缺受理。
(二)进一步优化审批流程。将原来分散在有关部门独立审批的工程建设项目审批主流程事项,整合成4个阶段3个部门牵头即可完成。制定统一的办事指南、申报表格,将原来112张申请表单,整合为每个阶段只填一张表单。明确各阶段并联或并行办理事项和办理时限,实行“一家牵头、并联审批、限时办结”,实现每个阶段3-10个事项并联在同一时限内完成。分区域合并审批事项和推动工程图审改革,分类别细化流程,制定4类流程图。
(三)全面推行“互联网+”审批机制。完善优化省级和各城市工程建设项目审批管理系统。积极推行网上申报、一链办理。将各阶段审批要件网上推送相关审批部门,由各阶段牵头部门组织后台审核、并联审查、一次性告知,限时完成本阶段多项审批。实现审批数据网上实时共享,确保审批各阶段、各环节无缝衔接。实施全流程网上监管,对审批环节进行全程跟踪督办及审批时间节点控制,实行“亮灯”管理制度。推行施工图审查、招投标交易、施工许可证核发全过程数字化。逐步实现系统外无审批,审批过程全程留痕。
(四)创新审批模式。积极推进落实区域评估制度。在各类开发区、工业园区、新区和其他有条件的区域,将由建设单位组织的环境影响、水土保持、地质灾害危险性、节能等评估评价事项改为由政府统一组织、超前开展。推行“标准地”制度。对重点区域新批工业用地以不低于30%的比例按照“标准地”制度供地。各市、县(市、区)政府提出单位能耗标准、投资强度、亩均税收、单位排放标准、产业准入标准以及规划、人防、消防、配套设施等项目建设条件和标准要求,一次性集成公布,纳入土地出让条件。土地受让人对出让条件作出书面承诺,承诺涵盖事项不再申请办理,审批部门可以根据书面承诺作出审批决定,针对书面承诺不能涵盖的事项仍按原有流程申请。全面改革工程图审机制。取消全省施工图审查机构总量控制。允许具备条件的勘察设计单位取得施工图审查机构资格增项;培育综合图审机构,实行消防、人防、技防、防雷和水电气暖信等施工图设计文件一次性审查,各部门不再单独出具审核备案手续;在中国(山东)自由贸易试验区、中国—上合组织地方经贸合作示范区、青岛西海岸新区探索取消施工图审查(或缩小审查范围)。2020年,全省依法推动取消施工图审查。实行告知承诺制和设计人员终身负责制,对施工图设计文件进行100%抽查;增加尽职免责条款;充分借鉴国内外成熟经验,建立适合我省的勘察设计责任保险制度,并率先在政府投资项目中推行。改革工程验收机制。实行规划、土地、消防、人防、城建档案等事项联合验收,统一竣工验收图纸和验收标准,统一出具验收意见;推进“竣工测验合一”改革,对于验收涉及的测绘工作,实行“一次委托、联合测绘、成果共享”。优化环境影响评价分类分级管理。组织调整省级审批环境影响评价文件的建设项目目录,进一步下放审批权限。实行建设项目环评分类管理制度,对于未纳入《建设项目环境影响评价分类管理名录》且不涉及环境敏感区域的建设项目,免于环境影响评价。“一张蓝图”统筹项目实施。加快形成“多规合一”的“一张蓝图”。加强项目前期协同,提出项目策划建议,建立项目储备库,组织模拟审批,推进以项目为主导向以规划为统筹的审批模式转变。
三、保障措施
(一)加强组织领导。各市、县(市、区)党委和政府要切实担负起工程建设项目审批流程再造工作领导责任,制定具体实施方案,明确时间表和路线图。省直有关部门要强化战略协同,细化分解任务,建立目标一致、步调统一、改革同步的长效协作机制。
(二)强化监督管理。全面实行以“双随机、一公开”监管为基本手段,以重点监管为补充,以信用监管为基础的新型监管模式,建立与工程建设项目审批制度改革相适应的监管体系。
(三)严格督促落实。加大对各市及省直责任部门的督导力度,建立工程建设项目审批制度改革评估评价机制。对工作推进不力的,依规依纪依法严肃问责。
社会投资工业建筑工程审批流程图(45日/35日)

注: 1. 图中虚线部分表示由政府部门、单位提前介入事项或企业申报, 有关部门、单位并行办理,但不计入主流程审批(审查)时间的事项。建设单位按要求整改时间,不计入审批时间。
2. 本流程图所称“日”为工作日。
社会投资民用建筑工程审批流程图(45日)

注: 1. 图中虚线部分表示由政府部门、单位提前介入事项或企业申报, 有关部门、单位并行办理,但不计入主流程审批(审查)时间的事项。建设单位按要求整改时间,不计入审批时间。
2. 本流程图所称“日”为工作日。
政府投资建筑工程审批流程图(70日)

注: 1. 图中虚线部分表示由政府部门、单位提前介入事项,有关部门、单位并行办理但不计入主流程审批(审查)时间的事项。建设单位按要求整改时间,不计入审批时间。
2. 本流程图所称“日”为工作日。

不动产登记“一网通办”便民服务实施方案
为方便人民群众、提高不动产登记效率,根据省委、省政府关于深化制度创新加快流程再造的要求,现制定不动产登记“一网通办”便民服务实施方案。
一、工作目标
开发建设全省不动产登记“一网通办”便民服务平台,整合全省各级不动产登记信息资源,实行线上线下融合、多级联动,2020年6月底前,将与企业和群众互动紧密的不动产登记申请、受理等业务环节迁移至互联网运行,打造全省不动产登记业务随时随地线上申请、网上查看、现场核验、随到随办的“一网通办”新模式。在申请材料符合要求的情况下,区分不同业务类型实行限时办结。
即时办结:不动产查封、解押、地址变更、更名变更、异议等一般登记业务。
一日办结:非涉税抵押登记业务(不含需要税务部门联办的业务,不含在建工程抵押);涉及转移、抵押联办但已提前完成缴税的业务。
五日内办结:除非公证继承的转移登记及政府统一组织的不动产登记之外的其他业务。
“一网通办”便民服务平台上线运行后,进一步实现以下便民服务:需在不动产登记大厅现场核验的业务,现场核验后,实现立等可取;部门信息可支撑现场核验的,只需要线上办理登记业务,实现“零跑腿”。
推行不动产登记服务点延伸到银行等服务机构,相关不动产登记业务可直接在服务点办理,无需再到不动产登记大厅,实现“零跑腿”。
不动产登记机构按照国家有关规定,加强部门协作,实行不动产登记、交易和缴税一窗受理、并行办理,压缩办理时间,降低办理成本。推进网上缴税或委托不动产登记机构代为办理收缴税款,进一步减少环节。
二、主要任务
(一)实行一窗受理,并行办理
涉及登记、交易、税费等部门联办所需核验或留存的信息,通过综合受理窗口一次性采集,没有法律法规明确要求的材料一律不得要求申请人提供,有法律法规支持的前置审批或核准手续通过共享取得,相关部门的业务实行并联办理。除法律法规规定外,不得设置前置审批事项。探索将发放纳税申报表并辅导纳税人签字确认、辅导纳税人缴税、发放代开的税务发票、发放完税证明等工作委托不动产登记机构代办。
各市县级不动产登记机构会同相关部门,按照“依法依规、不重不漏”标准,确定材料受理清单和目录,修订申请表格样式。参照《山东省不动产登记指导性流程图》,结合本地实际,编制地方流程图,明确即时办、线上办、线下办、全链条办的业务类型和时限,并向社会公开。
(二)夯实登记数据基础,推进部门信息共享,实现材料精简
加强新增登簿信息质量和数据接入、存量数据汇交情况评价工作,加强新增数据质量监控,全面更新存量数据。2020年年底前,完成存量不动产登记历史信息清理整合入库及汇交。
省自然资源厅负责与省法院、省委编办、省公安厅、省民政厅、省司法厅、省财政厅、省住房城乡建设厅、省卫生健康委、省国资委、省市场监管局、省大数据局、省税务局、人民银行济南分行、山东银保监局、省地方金融监管局、省海洋局等部门和单位的沟通协调,根据业务联办和信息共享需求,结合各部门数据库存储层级及所在网络环境等情况,制定数据对接方案和接口规范,确定共享模式、途径;各市县不动产登记机构同步做好与本级相关部门的系统对接和信息共享。通过信息共享,能够从相关部门获取且满足不动产登记存档要求的材料,不得要求申请人提供。
(三)推进多测合一、联合测绘,实行成果共享
不动产首次登记、界址界线发生变化的变更或转移登记等需要开展不动产权籍测绘的,应根据工程项目进展,将供地时土地勘测定界与不动产登记(土地)权籍调查成果进行关联;将工程建设项目的规划核实、土地核验和不动产测绘等多项测绘业务整合,生成不动产权籍调查成果(包括土地及房屋等建筑物、构筑物),有关部门要加强成果审核。待国家统一相关测绘标准后,再将相关测绘进行合并。不得重复审核和要求建设单位或者个人多次提交对同一标的物的测绘成果。探索设立统一的不动产测绘综合服务窗口,涉及不动产界址变化的,可先从不动产测绘综合服务窗口提取权籍基本信息,完成测绘工作后进行测绘成果落宗,避免重复测绘。
(四)建设不动产登记“一网通办”便民服务平台,实现线上办理新模式
省级开发不动产登记“一网通办”便民服务平台,关联各市县级不动产登记信息平台,推进不动产电子证照库建设,协调省级相关部门,对省级层面归集存储的自然人身份、法人和非法人组织统一社会信用代码、税收信息、公证信息、司法判决书、婚姻登记、涉及人员单位的名称、死亡医学证明信息等,提供省级“总对总”共享服务,支撑市县“跨地方、跨部门、跨层级”信息共享。
市县级不动产登记机构,完成登记系统向政务外网迁移工作,联通市级政务信息共享交换平台,获取同级部门共享信息,开展电子证照应用。市县级已建立不动产登记“一网通办”平台的,接入省级“一网通办”平台进行应用;未建立“一网通办”平台的,将市县级不动产登记系统接入省级“一网通办”平台,满足群众和企业线上申请的需求,实现申请人在任何地方、任意时间都可通过省“一网通办”平台申请不动产登记、上传登记申请资料、完成网上税费缴纳、选择证书领取模式,实现最多跑一次和“不见面审批”。2020年6月底前,不动产登记“一网通办”便民服务平台上线运行。做好济南市电子证照国家级试点、青岛市共享相关部门信息国家级试点及推广应用。
三、保障措施
各级党委、政府要加强领导,各级自然资源部门充分发挥牵头作用,相关部门全力支持配合,围绕本方案确定的目标任务和时间节点,明确责任,强化担当,狠抓落实。加强督促指导和舆论宣传,适时总结推广先进做法和经验,在全省营造深化制度创新、加快流程再造、推进“一网通办”工作的良好氛围,打造不动产登记服务全省高质量发展的优质品牌。
流程再造后图示

医疗保障经办服务“六统一”流程再造实施方案
为提高医疗保障经办服务水平,根据省委、省政府关于深化制度创新加快流程再造的要求,现制定全省医保经办服务“六统一”流程再造实施方案。
一、工作目标
坚持以人民为中心的发展思想,实施全省医保经办服务流程再造,全面提升医保经办服务信息化、标准化、专业化水平,提高人民群众医保经办服务的精细度、便捷度、满意度。全面推进医保经办事项名称、申办材料、经办方式、办理流程、办结时限、服务标准“六统一”。申办材料整体精简30%以上,办理时限整体缩短50%以上,重点完成医疗保险关系转移接续、门诊慢性病异地联网结算、异地就医转诊转院备案报销等高频民生事项的业务流程优化再造,办理流程压缩50%以上,医保经办服务事项“网上办”和“掌上办”不低于80%。2020年8月底前,除医疗费手工报销、个人账户资金提取等暂由现场办理的事项外,其余事项全部实现对公业务“网上办”和个人业务“掌上办”。
二、工作任务
推进医保经办服务流程再造,坚持全面推进、整体提升;坚持聚焦痛点难点堵点;坚持信息化、标准化、专业化相互促进。
(一)全面推进全省医保经办服务“六统一”,整体推进医保经办服务提质增效。对职工医疗保障、城乡居民医疗保障、协议定点医药机构三大领域18类34项民生服务事项,实施流程重构重塑,实现精细化管理、便捷化服务、平台化操作。编制《山东省统一医疗保障经办服务办事指南》,制定全省医保经办服务全国首批地方标准,在省市县三级全面施行。
1.统一事项名称。以“最小颗粒度”为标准,对全省三大领域18类34项医疗保障服务事项进行梳理细化和规范统一,实现在全省任何地方办理医保业务事项名称统一,不断提高经办服务便捷度,为实现数据共享、提升“一网通办”水平奠定基础。
2.统一经办方式。根据经办服务事项的性质不同和方便群众需求,对每一项经办服务事项明确规定提供不同的经办方式,并提供现场办理的服务大厅地址,自助终端放置地址、网上办理的网址、手机APP下载地址、微信公众号等,全面推动医保经办服务事项网上办、掌上办、就近办、异地办。
3.统一申办材料。在统一全省医保经办材料的同时,对各类医保经办服务事项所需的申办材料全面压减到更少程度,通过推行医保电子凭证实现医保经办业务和移动支付“扫码办”“刷脸办”,就医购药无卡结算;部分事项实现只凭一张身份证或社会保障卡即可办理;“一网通办”系统注册的企业办理参保登记,不再提供成立的批文等材料;公共业务充分利用数据共享,一次提交材料重复使用;新增协议定点医药机构申办材料由原来的13种削减到7种以下;异地就医备案、医疗费手工报销等服务事项实行承诺制。
4.统一办理流程。通过合并环节、共享数据、复用材料,大力推行预约办、集中办、容缺办、联审联办和告知承诺,按照办理流程更简的目标,对办理流程全面压缩,每件事项均配套制定办理流程图。全面取消门诊慢性病备案集中查体、医保部门审批等环节,由受理的医疗机构或医保经办机构确认备案;加强部门协调配合,设立社保费医保费联合征缴业务“一窗受理”窗口,实现“一窗受理、一次提交、一同审核、一窗出件”。
5.统一办结时限。在医保经办人员力量和信息化系统可承载的最大限度内,在全面统一全省各地医保经办事项办结时限同时,全面压缩服务时限,即时办结事项达到58%以上,非即时办结事项比国家规定时限压缩60%以上。医疗费手工报销、生育保险待遇申领由国家规定时限30个工作日缩短至15个工作日,2020年4月再缩短至10个工作日。
6.统一服务标准。在全国率先制定医疗保障经办服务规范系列地方标准,形成全过程、全环节标准体系。将“医疗保障服务规范(系列标准)”纳入“山东标准”建设行动计划,制定《医疗保障标准体系》《医疗保障术语》《医疗保障经办服务通则》《职工医疗保障经办服务规范》《城乡居民医疗保障经办服务规范》等5项地方标准并发布实施。2020年12月底前,制定出台医保经办服务满意度测评、定点医疗机构协议管理经办规程等系列标准。
(二)紧盯群众反映最强烈、最突出问题,聚焦痛点难点堵点,加快落实医保转移接续、异地就医结算制度,实施三大高频服务事项业务流程再造。
1.再造医保关系转移接续流程。通过升级改造省级医疗保险关系异地转移平台,取消省内参保人员往返参保地开具参保凭证、邮寄纸质转移材料等环节,将医疗保险关系转移接续办理时限由国家规定时限45个工作日缩短至15个工作日,实现医疗保险待遇享受的无缝衔接。
2.推进门诊慢性病省内异地联网即时结算。在进一步扩大异地住院费用直接联网结算覆盖范围的基础上,再简化程序,改革门诊慢性病异地就医个人先垫付资金再后期手工报销流程,办理时限由原来30个工作日变为联网即时办结。对纳入医保支付的高血压、糖尿病等14种(类)门诊慢性病实行省内异地就医联网结算,实现医疗费用即时报销。
3.简化转诊转院备案报销流程。对因病情治疗需要转往外地就诊住院治疗的参保人员,直接由当地转出医院办理手续,不再经医保部门核准,参保群众可在转入的省、市所有联网结算医院中自主选择就医,取消过去固定1家转诊医院的要求;同时,需多次转诊治疗的,办理一次转诊手续后,一年内有效,进一步方便患者就医报销。
三、保障措施
(一)加快信息化建设。建立全省统一、高效、便捷的医保信息化系统,加快推进医保信息系统迁移上云,推进医保信息系统与省政务服务平台、政务信息资源共享交换平台对接。加强与人力资源社会保障、卫生健康、税务等部门的信息共享,推动实现公共服务事项网上“一链办理”。建设全省信息交换和共享、异地就医结算、医保电子凭证及移动支付等平台,构建实体大厅与网上平台、移动终端、自助终端、咨询热线等互为补充的全方位经办服务格局。
(二)加强标准化建设。全面加强业务和标准化培训,推动标准落地实施,对经办服务场所、窗口、便民设施、标识标志等基础设置,对医保经办服务的事项名称、申办材料、经办方式、办理流程、办结时限、服务标准等内容,对服务人员的仪表仪态、服务用语、行为举止、工作纪律等进行标准化规范,努力打造全国医保经办精品服务窗口。
(三)加强经办服务能力建设。推进服务大厅窗口优化整合,健全完善基层医疗保障服务机构,推动服务网点合理布局,积极探索在乡镇、街道(社区)设立医保服务站(所)。加强经办队伍业务培训,提升工作人员素质和本领。建立经办服务事项“好差评”评价制度。
(四)加强宣传监督。采取宣传册、明白纸、电子图文、手机终端、微信公众号等多种形式,通过实体大厅、网络、手机、电视、广播、自助服务机、二维码、新媒体等载体和新闻发布会等多种渠道,做好参保、待遇政策、办事流程和服务事项的解读,自觉接受社会媒体和人民群众的监督。
流程再造后图示
省内医保关系转移接续流程再造后图示

门诊慢性病省内异地联网结算流程再造后图示

转诊转院备案报销流程再造后图示

高层次人才全周期服务流程再造实施方案
为打造优质、高效、便捷的人才发展环境,根据省委、省政府关于深化制度创新加快流程再造的要求,现制定高层次人才全周期服务流程再造实施方案。
一、工作目标
实行更加积极、更加开放、更加有效的人才政策,主动服务新旧动能转换、乡村振兴、海洋强省、三大攻坚战、军民融合、打造对外开放新高地、区域协调发展、重大基础设施建设等八大发展战略,以人才为中心、以高层次人才服务绿色通道为主线,围绕引、育、留各环节全周期,聚焦人才服务痛点难点堵点问题,深化制度创新、加快流程再造,努力做到“手续最简、环节最少、成本最低、效率最高”,打造优质、高效、便捷的人才发展环境。
二、主要任务
(一)编制管理
全职引进到山东省事业单位工作的高层次人才,可在用人单位编制员额(人员控制总量)内直接办理纳入实名制管理手续。
办理流程:
1.省属事业单位引进获得“山东惠才卡”的高层次人才后,可在政务专网“山东省机构编制综合管理信息系统”在线申报纳入实名制管理业务。
2.上传引进人才的“山东惠才卡”扫描件。
3.经主管部门初审后报省委编办,省委编办收到申请后随到随办,最迟2个工作日内办结。
(二)职称评审
1.建立高层次人才高级职称评审“直通车”制度
凡在我省企事业单位工作、与用人单位建立劳动人事关系的高层次专业技术人才,均可纳入高级职称评审“直通车”规定的范围。“直通车”范围内高层次专业技术人才直接申报高级职称,与当年度职称工作同步进行,申报时间、申报程序、申报渠道、公示公布、证书发放等均与正常申报职称人员相同,可不受国籍、户口、原职称资格、学历资历、继续教育、申报条件等限制,免于职称评审委员会组织的业务测试和支医支教等基层服务经历,可不受单位岗位总量和结构比例的限制,海外工作经历、学术和专业技术贡献可作为参评依据。
办理流程:
(1)高层次人才根据统一部署安排申报高级职称。
(2)各类别高级评审委员会组织专家评审论证。
(3)公布评审结果。
(4)发放电子证书、一键出证。
2.建立开发区特色专业职称评审制度
向省级以上开发区(含经济技术开发区、海关特殊监管区、高新区、中国(山东)自由贸易试验区、中国—上合组织地方经贸合作示范区等产业密集、人才聚集的区域,以下简称开发区)下放特色专业职称评审权限,开发区或开发区内人才智力密集的企事业单位,可根据新职业、新群体等特色专业人才评审需要,申请组建相应的职称评审委员会,分类制定特色专业人才职称评审标准。在开发区工作的特色专业人才,可不受户籍、身份、档案、人事关系等限制,实行个人自主申报、业内公正评价、单位择优使用、政府指导监督的社会化职称评价模式。对实践性强、研究属性不明显的特色专业人才,论文、科研成果不作为必备条件。推行代表性成果制度,特色专业人才可选择专利成果、项目报告、工程方案、设计文件等代表性成果参加职称评审。开发区特色专业职称评审结果省内通用。
办理流程:
(1)开发区相关专业技术人员申报特色专业职称。
(2)职称评审委员会组织专家评审。
(3)公布评审结果。
(4)发放电子证书、一键出证。
(三)科研服务
以创新券的形式,对省内中小微企业和创业(创客)团队使用共享科研设施与仪器资源开展的检测、试验、分析、合作研发等科技创新服务予以补助。
办理流程:
1.注册会员。符合条件的中小微企业和创业(创客)团队,登录山东省大型科学仪器设备协作共用网(简称省仪器设备网)并注册为企业类型或创业(创客)类型用户,即可获得创新券使用资格。
2.申请使用创新券。中小微企业和创业(创客)团队通过省仪器设备网预约使用科研设施与仪器,与供给方协商在线下完成服务后,在网上提交服务合同、发票、服务结果证明等材料,在线打印创新券。创业(创客)团队由入驻的创新创业孵化载体统一提交材料。
3.申请兑现创新券。中小微企业和创业(创客)团队于每月前7个工作日内向所在设区市科技局提交前期已经使用的、加盖单位公章的创新券。设区市科技局在每月的第8至12个工作日内审核兑付申请材料,在线提交兑付审核意见和兑付申请表。省科技厅在每月的第13至17个工作日内将兑付资金拨付到使用方。
(四)子女入学
简化高层次人才子女入学办理流程手续,不对省级人才工程人选等高层次人才子女入学设置户籍、房产购置等限制性条件,为高层次人才子女在我省就学提供便捷服务,努力解决其后顾之忧。
办理流程:
1.高层次人才向当地教育行政部门提出子女入学转学申请和证明材料。具备条件的地方,通过义务教育招生平台提交申请,或由教育行政部门根据人才信息联网平台接受申请。
2.教育行政部门审查材料后,根据高层次人才相关材料和当地工作实际,提出安排意见,优先协调办理入学转学手续,并通过平台等方式告知学校、高层次人才。
3.学校按照教育行政部门意见予以优先协调办理。
(五)医疗保健
高层次人才可凭“山东惠才卡”就医,符合保健证办理条件的,按规定享受相应医疗保健待遇;不符合保健证办理条件的,在高层次人才定点医院享受预约就医等优质服务,必要时高层次人才所在单位服务专员可进行陪同。
办理流程:
1.属于保健对象的高层次人才。可凭保健证在保健定点医院的保健门诊、保健病房就诊治疗,医疗费按原渠道解决。
2.不属于保健对象的高层次人才。可持“山东惠才卡”在高层次人才定点医院就诊治疗,定点医院结合高层次人才诊疗需求,提供优质医疗服务。
(六)出入境和居留
1.签证类
(1)换发人才(R字)签证。根据《中华人民共和国外国人入境出境管理条例》规定,对持其他签证入境的外籍人才,符合中国政府主管部门确定的外国高层次人才和急需紧缺专门人才引进条件和要求规定的,可为其换发入境有效期不超过5年、停留期不超过180日的多次入境人才(R字)签证。
(2)申办口岸签证和5年以内的多次签证。国内重点高等院校、科研院所和知名企业邀请的外国专家学者,以及设区的市级以上政府人才主管部门、科技创新主管部门认定的外籍高层次管理和专业技术人才,可办理口岸签证入境。以上人员和有重大突出贡献以及国家特别需要的外国人推荐其带领的工作团队外籍成员和科研辅助人员,入境后凭邀请单位的证明函件等材料,可申办有效期5年以内的多次签证。
办理流程:
(1)申请。外国人申请签证的延期、换发、补发,应当由本人到公安机关出入境管理机构办理相关手续。符合有关规定的,可由邀请单位或者个人、申请人的亲属、有关专门服务机构代为申请。
(2)受理。受理机构审查后决定是否受理。申请事项属于本行政机关职权范围,申请材料齐全、符合要求的,应当当场予以受理并出具受理回执。申请签证证件手续和材料不完备的,应当一次性告知申请人所需要履行的手续和补正的申请材料。
(3)审核。公安机关出入境管理机构应当加强核查,通过面谈、电话询问、实地调查等方式核实申请事由的真实性,审核确认申请人为外国国籍。通知申请人或者有关单位、个人面谈,无正当理由未在约定时间内接受面谈的,可以依法不予签发签证证件。
(4)决定。符合条件、标准的,决定机构作出准予行政许可决定,签发相应类别签证。
2.外国人永久居留身份证
对外籍高层次人才、有重大突出贡献以及国家特别需要的外国人,经国家有关主管部门、省政府或国家重点发展区域管理部门推荐,可申请在华永久居留,其外籍配偶和未成年子女(未满18周岁未婚子女)可随同申请,由公安机关按照规定发放《外国人永久居留身份证》。
办理流程:
(1)申请。外国人申请在中国永久居留,由本人或者未满18周岁未婚子女的父母或者被委托人向主要投资地或者长期居留地的设区市政府公安机关提出申请。由被委托人代为申请的,需提交申请人出具的经公证机关公证的委托书。申请人在国外出具的委托书,需经中国驻该国使、领馆认证。
(2)受理、审查和决定。受理机关受理后,开展调查工作,并将符合条件的报审核机关。审核机关收到材料后开展审核工作,并将符合条件的报国家移民管理局审批。对不符合条件的,受理、审核机关代国家移民管理局作出不予批准的决定。被批准在中国永久居留的外国人,由国家移民管理局签发外国人永久居留身份证。对申请换发和补发证件的,受理机关完成调查工作后将符合条件的报审核机关,审核机关完成审核工作后报国家移民管理局制证。
(七)“山东惠才卡”核发
根据《山东省高层次人才服务绿色通道规定》,向符合条件的高层次人才颁发“山东惠才卡”,作为凭证向其提供出入境服务、户籍办理、医疗保健、职称评审等29项绿色通道服务。
办理流程:
1.直接颁发类
省直部门将符合直接颁发类条件的高层次人才信息提供省人力资源社会保障厅,由省人力资源社会保障厅及时制作发放“山东惠才卡”。
2.审核颁发类和评审颁发类
(1)高层次人才通过“山东省高层次人才服务信息系统”提交基本材料。
(2)高层次人才所在单位服务专员协助高层次人才在系统补充有关材料,并逐级提交至省人力资源社会保障厅。
(3)省人力资源社会保障厅及时组织审核或论证,对审核或论证通过的,颁发“山东惠才卡”。
三、保障措施
(一)建立统筹协调推进机制。省人才工作领导小组办公室统筹负责高层次人才全周期服务工作,做好实施方案的统筹协调及具体任务分工、政策落实督查等工作,定期协调调度,项目化推进实施。
(二)加大人才工作考核力度。严格落实党委(党组)书记第一责任人责任,将高层次人才全周期服务流程再造工作成效,作为省人才工作领导小组成员单位述职评议和各市人才工作目标责任制考核的内容。强化考核结果运用,对政策落实不到位的,由省人才工作领导小组负责同志约谈相关责任人。
(三)强化人才政策落实督办。依托“12345”人才服务专线等,实时受理人才政策落实问题。对人才提出的投诉事项,建立按责转办、限时办结、逐一反馈、回访督导的办理机制,做到问题马上处理、政策马上落实。
本实施方案所称高层次人才指山东省从海内外引进和自主培养的各类高层次人才,主要包括海外高层次留学人才、高层次外国人才和国内高层次专业技术人才、高层次经营管理人才、高层次技能人才等,具体范围详见《山东省高层次人才服务绿色通道规定》(鲁人社规〔2018〕5号)。
流程再造后图示
一、编制管理

二、职称评审
(一)建立高层次人才高级职称评审“直通车”制度

(二)建立开发区特色专业职称评审制度

三、科研服务

四、子女入学

五、医疗保健
(一)属于保健对象的高层次人才

(二)不属于保健对象的高层次人才

六、出入境和居留
(一)签证类

(二)外国人永久居留身份证

七、“山东惠才卡”核发

跨境投资贸易流程再造实施方案
为推进跨境投资贸易便利化,根据省委、省政府关于深化制度创新加快流程再造的要求,现制定跨境投资贸易流程再造实施方案。
一、工作目标
深化跨境投资贸易领域“放管服”改革,聚焦审批“减事项、减环节、减材料、减时间”,全面推行“一窗受理一次办好”,推进跨境投资、通关流程、口岸服务、外汇收支、出口退税流程再造,积极打造“审批事项少、办事效率高、服务质量优、企业获得感强”的投资贸易环境。
二、主要任务
(一)推进跨境投资便利化
1.创新审批服务模式。根据中国(山东)自由贸易试验区、中国—上海合作组织地方经贸合作示范区的用权需求,将省级、市级经济管理权限放足放到位。实行开办企业全程网上办,全面推广电子营业执照。对评估评审报告编制、环境影响评估、水土保持方案、建设项目取水许可等全面实行“容缺受理”,在开工前完成审批(审查)即可。深化工程建设项目审批制度改革,每个审批阶段实行“一家牵头”并联办理,“一个窗口”综合受理材料、“一张表单”整合申报材料;实行数字化联合审图,推行工程招投标交易全过程电子化;全面推广“拿地即开工,建成即使用”模式。
2.全面落实外商投资准入前国民待遇加负面清单管理制度。凡不涉及负面清单的外商投资项目立项,除国家产业政策有特殊要求外,仅做告知性备案,着力构建与负面清单管理方式相适应的事中事后监管制度。清理和取消资质资格获取、招投标、权益保护等方面存在的差别化待遇,实现各类市场主体依法平等准入相关行业、领域和业务。
3.优化境外投资流程。根据国家境外投资管理有关规定,除有明确规定需国家备案核准外,向中国(山东)自由贸易试验区和中国—上海合作组织地方经贸合作示范区下放境外投资部分省级备案管理权限。优化投资流程,引导企业开展跨国并购,带动资本、技术、品牌等引进来,促进回归投资发展。高质量发展对外承包工程,推动企业投资建设境外营销服务网络、海外仓、境外经贸合作区,促进对外承包工程和境外投资带动外贸进出口。
4.建设双向投资促进公共服务平台。发挥好“选择山东”云平台作用,推介省级对外重点合作项目、各市各开发区投资需求、国资混改并购项目、境外合作园区投资贸易信息,全面汇集国际投资项目和人才信息,推动供需信息及时发布、智能匹配。支持在中国(山东)自由贸易试验区、中国—上海合作组织地方经贸合作示范区建设双向投资促进公共服务平台,与“选择山东”云平台联网,实现投资、技术、人才、贸易供需双方精准对接。
(二)优化通关流程
5.深化通关一体化改革。全面推进货物监管“查检合一”。持续推动通关环节“串联”改“并联”,深化场地、人员、设备、卡口、业务、物流“六个整合”,实施“集中作业”模式,推进口岸安全风险联防联控、跨部门一次性联合检查。统一布控指令下达、统一查检作业平台、统一现场随机派员,实现货物查验“一支队伍统一作业、一个系统一次查验”。在关区口岸所有旅检、邮件、快件及跨境电商监管作业场所实现“查检合一”。实施进口概要申报和完整申报“两步申报”通关模式,实行进境安全准入风险防范“两段准入”和口岸分类提离,建立一般货物和少量多批次商品“两类通关”等模式。
6.推广应用“提前申报”模式。鼓励企业“提前申报”进口货物,提前办理单证审核和货物运输作业。
7.提升“智慧监管”水平。开展“先期机检”“智能审图”试点工作,提高机检后直接放行比例。深化内外贸集装箱堆场的电子化海关监管改革。加大推进安全智能锁应用,实现施验封志的信息化作业。
8.推进无纸化改革。依托山东口岸物流协同平台,青岛海运口岸全面实现进口集装箱货物提货单和设备交接单电子化流转。
9.简化检验检疫作业。优化进口大宗资源性商品“先验放后检测”检验监管方式。进境水果现场检疫未发现检疫性有害生物或疑似检疫性有害生物的,实施“即验即放”。应用现场快速检测技术,进一步缩短检验检疫周期。创新国际航行船舶港口检疫监督检查模式。
(三)提高口岸服务效能
10.提升国际贸易“单一窗口”功能。加强与银行、税务、保险、民航、铁路、港口等相关行业机构对接,拓展“单一窗口”功能。
11.优化查验前准备作业流程。通过“单一窗口”及时向进出口企业、口岸作业场站推送查验通知。在进口集装箱卡口24小时放行作业基础上,进一步提升港口卡口通过效率。
12.提升拼箱、分拨货物作业效率。优化口岸进口集拼货物拆箱流程,分拨、分流货物作业场所实时逐箱发送理货报告,舱单传输人及时发送分拨申请。缩短舱单数据传输时间,分拨、分流货物目的地监管作业场所在货物运抵后实时、逐箱向海关传输运抵报告。
13.加强国际通关合作。开展与日本、韩国等主要贸易国家的AEO互认合作,扩大AEO互认范围,以“一带一路”沿线和主要贸易国家为重点,积极参与AEO国际互认合作。构建信息互换、监管互认、执法互助以及检验检疫、标准计量等方面高效顺畅的合作机制。与日本、韩国合作确定鲜活农副产品目录清单,加快开通快速通关绿色通道。创新“多港联动”模式,结合中国(山东)自由贸易试验区、中国—上海合作组织地方经贸合作示范区建设,建立以“一单制”为核心的多式联运服务体系,完善山东省中欧班列运营平台。
(四)推进外汇收支、出口退税便利化
14.优化外汇管理。扩大贸易外汇收支便利化试点,实施服务贸易外汇收支便利化试点,优化贸易外汇收支单证审核;优化货物贸易外汇业务报告方式,取消企业向所在地外汇管理局报告辅导期内业务的要求;放宽出口收入待核查账户开立,企业办理货物贸易收入,可自主决定是否开立出口收入待核查账户;便利企业分支机构名录登记;允许承包工程企业境外资金集中管理。
15.创新优化出口退税服务。落实出口企业分类管理和重点企业联系制度,在出口退(免)税申报、审核审批、退库全流程无纸化、线上办理的基础上,全面推行退税标准化服务,对退税业务受理、审核、审批等环节,明确全省统一的时间标准。巩固压缩出口企业退税审核审批平均用时10个工作日、一类企业2个工作日内办结的成果。在中国(山东)自由贸易试验区对信誉好的企业出口退税实行当天申报当天到账。在省市县税务局三个层面建立税企直连互通机制,做到政策落实“一户一策”。完善出口退税信息公开查询平台,实时查询退税办理流程环节和出口企业申报率、退税办理用时等,搭建出口退税全流程“阳光公开”机制。
三、保障措施
加强组织领导,抓好组织实施,明确各项任务的推进步骤、完成时限和具体责任人,实行挂图作战和台账管理。加强政策解读,积极收集和回应热点问题。及时梳理总结改革成果,对具有示范性、可复制的经验在全省推广。

“智慧监管”流程再造后图示



加快数据融合应用深化流程再造实施方案
为强化大数据对流程再造的重要支撑作用,根据省委、省政府关于深化制度创新加快流程再造的要求,现制定加快数据融合应用深化流程再造实施方案。
一、工作目标
按照“一个平台、一个号(码)、一张网络、一朵云”总体思路,加强统一的云网基础设施建设,构建一体化大数据平台,推行“一号通行”,深化数据“聚、通、用”,以数据融合应用驱动业务重塑、制度创新,为流程再造提供大数据支撑。
二、主要任务
(一)统筹推进云网“一体化”。持续推进政务云、网等公共基础设施集约化、一体化建设,促进资源高效合理利用。
1.完善全省电子政务“一朵云”。进一步优化全省政务云布局,逐步形成政务云管理节点、骨干节点、分支节点梯次服务新格局,持续增强云服务能力。着力拓展政务云的平台层、软件层服务内容,强化高层级服务供给,探索建立服务“超市”,2020年10月底前,将协同办公、政府网站、视频会商、公务邮件等通用应用和共性服务组件纳入服务“超市”统一管理,实现集约建设、按需应用。进一步加强全省统一的政务云服务管理,建立资源申请、审核、迁移、调整、下线全流程管理体系。完善政务云安全管理,建立由网信、公安、通信管理等部门参加的联合监管机制,不断提升整体安全防护能力。
2.完善全省电子政务“一张网络”。结合政务云布局调整,进一步优化全省电子政务网络架构,完善政务外网骨干网备用线路保障,确保网络稳定畅通。推进政务网络与教育、医疗等公共服务网络互联接入区建设,实现网络跨域融合互通。2020年12月底前,完成全省电子政务外网IPv6改造。结合网络优化升级,进一步提升网络安全保障能力。
(二)统筹推进数据“大汇聚”。强化全省一体化大数据平台建设,推进数据资源统筹规划、分类管理、整合共享,着力构建基础库、主题库、专题库和通用业务库“四库一体”的政务数据资源体系,建设山东“数据湖”。
3.全面完善基础库。建设完善人口、法人单位、公共信用、电子证照、空间地理和宏观经济6个基础库,扩大数据归集范围,提升数据质量,为全社会提供全面、精准、权威的基础数据支撑。2020年6月底前,人口库实现全省人口数据全归集,法人库实现全省机关事业单位、企业以及社会组织数据全归集。2020年12月底前,电子证照库实现常用证照全归集,在“爱山东”APP全面开展“亮证”服务。持续提升公共信用库、空间地理库、宏观经济库的服务支撑能力。
4.加快建设主题库。围绕办好“一件事”,聚焦具体办事场景,将多部门相关数据汇聚成库,为跨部门业务联动提供主题式数据支撑。在建成生态环境、农业农村、医疗健康、社会保障、交通出行等12个主题库的基础上,全面启动各领域主题库建设。开展主题库数据综合分析应用,逐步形成可复制、可推广的主题库建设应用模式。
5.建设专题库和通用业务库。以业务数据化为目标,全面推进专题库建设,补齐部门数据短板,促进业务闭环管理。开展历史数据抢救挖掘和电子化,2020年6月底前,省直各部门和各市围绕政务服务、民生保障、经济发展等方面,分别确定1-2类重点数据资源先行启动历史数据电子化工作,并取得初步成效。结合办公、人事、财务、机关事务和档案等通用业务信息系统建设,开展通用业务库建设,实现通用业务应用系统和数据资源统建共享,支撑机关内部“一次办好”。
6.强化数据治理服务。制定数据治理标准规范,构建全链条数据治理服务体系。统一确定数据治理服务目录“菜单”,为各部门提供“点菜”式服务。2020年6月底前,全面规范政务信息资源目录,建立数据核对反馈机制、常态化更新机制,进一步拓展数据应用广度和深度。
(三)统筹推进数据“全打通”。健全数据共享机制,畅通全省统一的数据流通渠道,推动数据共享,实现纵向贯通、横向协同。
7.加强数据供需对接。健全完善常态化数据供需对接机制。横向上,实现无条件共享数据直接获取,有条件共享数据限时反馈;纵向上,完善省级数据向各市返还机制,变市里“向省里要”为“省级主动给”,2020年6月底前,在完成首批数据返还试点的基础上,将返还范围扩大至所有设区市。
8.拓展数据共享范围。重点围绕高频政务服务事项,推动数据共享应用,支持业务办理减流程、压时限。2020年12月底前,推动跨区域数据共享,助推相关业务从“全城通办”到“区域通办”“全省通办”。研究制定数据共享评价指数,对各级各部门数据供给、需求和应用情况进行监测评估,提高数据共享质量和水平。
9.扩大公共数据开放。健全公共数据开放机制,提升数据开放平台服务支撑能力,重点推动社会关切、需求强烈的公共信用、交通运输、生态环境、市场监管等领域政务数据向社会开放。在实现所有政府部门接入公共数据开放平台基础上,2020年10月底前将水、电、气、暖等主要公共服务数据纳入开放范围。
(四)统筹推进数据“深应用”。开展“数聚赋能”行动,强化数据开发利用,全面支撑业务流程再造。
10.推动政务服务高效化。以就业、社保、教育、文化、出行、健康等与企业群众生产生活密切相关领域为重点,建立数据应用模型,通过优化“数据流”再造“业务流”,进一步减流程、减环节、压时限,促进大数据与业务工作深度融合,提升“一窗受理一次办好”改革成效。探索利用区块链数据共享模式,促进业务协同办理。将身份证号码和统一社会信用代码作为唯一标识,进行统一身份认证,实现“一号通行”。坚持移动优先,优化“爱山东”APP功能,推动高频民生事项“掌上办”,打造全省移动政务服务总门户。加快全省统一的电子印章系统建设,选择部分部门、设区市开展应用试点,健全电子印章使用管理机制,2020年形成全省统一的政务服务电子印章支撑体系。
11.推动社会治理精准化。强化平安山东、应急指挥、防灾减灾、生态治理、“互联网+监管”、社会信用等领域数据共享应用,构建一体化的社会治理体系,加快构建泛在、整体、共享、智能的“一张网”基层治理新机制,推动治理模式由低效到高效、被动到主动、粗放到精准的变革。围绕群众关心、企业关注、社会关切的痛点问题,深入分析问题症结,研究提出大数据解决方案。分级分类推进新型智慧城市建设,分批开展新型智慧城市试点示范建设,打造一批示范样板,提升城市管理精细化、智慧化水平。
12.推动宏观决策科学化。建立健全大数据辅助决策长效机制,统筹政用、商用、民用大数据,强化关联分析和挖掘应用,增强用数据说话、用数据决策、用数据管理能力,全面提升政府科学决策和风险防范水平。2020年年底前,形成一批大数据辅助决策的应用成果。
三、保障措施
(一)完善工作体制机制。更好发挥数字山东建设专项小组办公室职能作用,加强统筹协调,推进工作落实。调整优化大数据主管部门职能,理顺政府与市场关系,强化规划编制、标准制定、业务指导、监管督查、评估改进等职责,减少微观事务的参与和管理。
(二)健全法规标准体系。推进大数据地方立法,加快制定促进全省大数据发展和应用的地方性法规。坚持标准先行,健全标准规范体系,制定实施一批数字基础设施、数据资源、应用服务、安全管理等领域的地方标准。开展标准实施情况监督和实施效果评估,深化标准推广应用。
(三)创新集约管理模式。强化省级政务信息系统项目归口管理,统筹项目规划、建设、管理、运维,实现项目全生命周期管理和数据一体化汇聚应用。定期发布省级统建清单,不断扩大统建范围,规范省以下项目建设管理,建立“省级统筹、分级负责”管理体系。实行“管运分离”,优化政府采购信息化服务工作机制。
(四)加强人才队伍建设。优化数字山东专家咨询委员会,充分发挥智库作用。积极与大专院校、科研单位等社会力量合作,搭建省大数据研究平台,实现人才共用、技术共享。制定大数据人才队伍建设专项规划,开通大数据人才绿色通道,打造全国大数据人才发展高地。
流程再造后图示
全省一体化大数据平台架构图

流程再造后,构建全省一体化大数据平台,支撑各级各类大数据应用。
流程再造后业务协同流程图

流程再造后,通过统一的数据平台,以数据通推动业务通,实现跨层级、跨地域、跨部门的业务协同。
统一数据应用流程图

通过流程再造,将各级各部门业务数据进行整合汇聚,建立统一数据平台,进行数据统一治理、集中共享,实现业务与数据深度融合应用。
差异化监管流程再造实施方案
为有效提升监管效能,根据省委、省政府关于深化制度创新加快流程再造的要求,现制定差异化监管流程再造实施方案。
一、工作目标
创新监管理念、监管制度和监管方式,健全完善以信用为基础的精准监管、以承诺为引领的全生命周期监管、鼓励创新创业的包容审慎监管、严惩重罚的重点监管、高效协同的联合监管,加快构建差异化监管模式,全力打造一流营商环境。
二、主要任务
(一)推进信用分级分类管理
一是与国家公共信用信息中心积极对接,充分发挥其定期开展全覆盖、标准化、公益性公共信用综合评价的支撑作用,定期将我省市场主体的公共信用综合评价结果共享至各级各有关部门。二是加快推进市场主体信用分级分类,2020年6月底前,研究制定全省统一的市场主体信用分级分类管理办法和评价标准,相关行业监管部门出台具体实施细则,2020年年底前,将企业划分为诚信守法、轻微失信、一般失信、严重失信四类。三是在实施分级分类管理中,要统筹使用、有机结合公共信用综合评价、行业信用评价、市场信用评价等多维度评价结果。四是探索建立全省统一的信用报告标准,推动信用报告结果实现异地互认。五是抽查检查、资格审查、评估验收等日常监管工作要与市场主体信用分类相结合,根据信用等级高低实施差异化监管措施。
(二)全面落实“双随机、一公开”监管
一是在市场监管领域部门联合“双随机、一公开”检查基础上,推动将更多领域、更多事项纳入部门联合抽查范围,实现“进一次门、查多项事”,减少对企业正常生产经营不必要的打扰。二是将信用分级分类结果运用到监管中,确保监管力量“好钢用在刀刃上”,实现对守信者无事不扰、对失信者利剑高悬。将随机抽查的比例频次、被抽查概率与抽查对象的信用等级、风险程度挂钩。除疫苗、药品、特种设备、危险化学品等重点特殊领域外,对诚信守法类企业实行“非请勿扰”诚信管理制度;对轻微失信、一般失信两类企业,每年除进行一次随机性联合检查外,不得再安排其他检查;对严重失信企业要加大抽查检查力度和频次,依法依规处罚管控。三是抓住市县政府“互联网+监管”、综合行政执法改革等有利条件,完善跨部门、跨区域的执法联动响应和协同合作机制,实现违法线索互联、监管标准互通、处理结果互认。依托互联网、大数据、物联网、云计算、人工智能、区块链等新技术推动监管创新,努力做到监管效能最优化、对市场干扰最小化。四是“双随机、一公开”监管的抽查事项清单、抽查计划、抽查结果均通过国家企业信用信息公示系统(山东)、信用中国(山东)网站面向社会公开公示,着力推行阳光监管。
(三)全面推广信用承诺制度
一是各级政务服务大厅率先推出一批适用信用承诺制的行政许可和公共服务事项,除法律法规有明确规定外,在办理过程中以信用承诺代替证明材料,推动实现“秒批”。对“秒批”后抽查发现虚假申报或不履行承诺义务的,撤销原行政决定,将失信记录记入当事人名下,依法依规处罚管控。二是鼓励市场主体在信用中国(山东)网站、国家企业信用信息公示系统(山东)主动面向社会作出综合信用承诺或者产品服务质量等专项承诺,接受社会各界监督。三是推动行业协会商会根据行业特点,统一制定行业自律承诺格式文本,组织会员公开作出信用承诺。四是在开展信用修复工作时,要求失信主体按规定格式公开作出承诺,若违反信用承诺,自愿接受相关惩戒措施。五是各类信用承诺按照既定的信用信息归集路径实时报送,并在信用中国(山东)网站、国家企业信用信息公示系统(山东)公开公示。
(四)深化细化包容审慎监管
一是完善新兴业态监管模式。对共享经济、人工智能、工业互联网等新技术、新产业、新业态、新模式,量身定制监管制度,在守住安全底线的前提下,给予企业1-3年包容期。二是推行柔性监管方式,建立轻微违法行为免罚清单。在包容期内,以行政指导和服务为重点,通过法规宣传、行政提示、行政建议、行政约谈等柔性监管方式,积极引导和督促企业守法诚信经营。允许企业试错,对非主观故意、没有造成危害后果的首次轻微违法行为,指导企业自觉改正,一般不予行政处罚。三是建立轻微或一般违法失信积累关注机制。对市场主体在短期内反复出现的多次违法失信行为,及时提醒约谈;经提醒仍无改观的,移入重点关注企业名单,向有关部门发出监管风险预警。四是建立集体会商制度。相关部门牵头邀请法律专家、“四新”经济专业人士、企业家参与,定期研究磋商“四新”经济监管政策,及时制定个性化监管方案,为其发展提供充足的空间。五是划定监管红线,对P2P网贷、私募股权融资等领域,以创新之名行侵权欺诈之实的伪新兴项目,依法严惩,绝不姑息。
(五)强化重点特殊领域监管
一是对重点特殊领域进行重点监管,特别是对疫苗、药品、特种设备、危险化学品等涉及人民生命安全、社会关注度高的领域,要实行全主体、全品种、全链条严格监管。二是增强企业风险防控意识,严格把控生产、销售、流通等重点环节,落实企业主体责任,守住质量和安全底线。三是建立违法严惩制度,对于故意违法、造成严重后果的企业,依法依规严厉处罚;涉嫌犯罪的,依法追究刑事责任。建立巨额赔偿制度,在涉及人民群众生命健康的领域,加大对消费者的直接赔偿力度。四是建立内部举报人奖励制度。对举报人实施重奖,严格保护举报人信息,解除举报人后顾之忧。五是丰富监管措施。依法依规综合运用公开公示、行政处罚、行政强制、联合惩戒、移送司法机关等多种手段严惩重罚,保持对重点领域和严重违法失信行为的高压态势。
(六)建立全生命周期的监管新模式
一是推动建立事前信用核查和信用承诺、事中信用分级分类和随机抽查、事后联合奖惩和信用修复的全过程闭环监管制度,实现市场主体准入、经营、退出全生命周期监管,明确监管事项、责任分工,促进市场主体积极参与全生命周期管理。充分发挥“互联网+监管”有效支撑作用,动态更新监管事项清单,持续推进监管数据汇聚,加强对风险的跟踪预警,提升监管智能化水平。二是健全失信“黑名单”制度。对性质恶劣、情节严重、社会危害较大的严重违法失信行为依法依规列入失信“黑名单”,认真落实国家有关部委联合签署的一系列失信惩戒备忘录,全面建立跨行业、跨领域、跨部门的联合惩戒大格局。推动惩戒措施向严重失信主体的法定代表人、主要负责人和其他负有直接责任的人员延伸,杜绝失信行为反复出现、异地出现等问题。三是强化信用信息应用。全面推行“信用+行政审批”“信用+便民服务”“信用+行政监管”“信用+市场退出”“信用+金融信贷”等,探索推进更多“信用+”系列应用场景,在各级政务服务大厅、各级政府及其部门行政管理和公共服务事项中全面查询使用信用信息,推动建立让“守信者一路绿灯”的联合激励机制,切实提高诚信守法企业、群众的获得感、成就感、幸福感。
(七)实现信用信息全量归集
一是借鉴上海自贸区经验做法,起草编制山东省公共信用信息“三清单”(数据清单、行为清单、应用清单),切实提高信用信息归集共享应用的规范性、精准性。二是推广统一社会信用代码制度,全面、及时、准确记录市场主体信用行为,特别是将失信记录建档留痕,做到可查、可核、可溯。三是依托省政府政务信息资源共享交换平台,按照省公共信用信息数据清单要求,向省公共信用信息平台全量报送信用信息;其中,涉企信息同步归集共享至国家企业信用信息公示系统(山东)。四是对信用信息报送规模和质量进行全面摸排,建立通报和末位约谈机制,推动全省公共信用信息“应归尽归”。五是依照法律法规或者协议约定,推动公共信用信息、市场信用信息、企业自愿注册信息等各类信用信息互联共享,丰富信用信息维度。
(八)加强监管执法政务诚信建设
一是健全权力运行制约和监督体系,坚持依法行政、依法监管、依法惩处,法定职责必须为、法无授权不可为,在全社会发挥示范表率作用。全面推行监管规则、标准、过程、结果等依法公开,确保监管执法在阳光下运行。全面建立监管执法部门和执法人员信用记录。二是加强对监管执法人员的法治诚信教育,将危害群众利益、损害市场公平交易等政务失信行为作为治理重点,率先纳入信用记录管理。三是对市场监管过程中存在的一刀切监管、刮风式监管等简单粗暴做法,及时纠偏纠错,维护企业和群众的合法正当利益。四是对人为干预的选择性监管、提前通风报信以逃避监管等滥用职权、徇私舞弊行为,依法给予处分;涉嫌犯罪的,依法追究刑事责任。五是对监管部门及执法人员执行包容审慎监管政策,非因主观故意或重大过失,免于责任追究,激励监管执法干部敢抓敢管、担当尽责。
(九)推动形成全社会共同监管局面
一是依法依规推动信用信息公开公示,做到“应公开、尽公开”,从行政许可、行政处罚“双公示”升级为行政许可、行政处罚、行政强制、行政确认、行政征收、行政给付、行政裁决、行政补偿、行政奖励、行政监督检查等“十公示”。二是监测整合12345、12315等各类投诉举报信息、互联网重大舆情监测信息,经有关部门调查核实处理后,纳入失信记录并作为失信信息依法公开公示。三是充分发挥信用服务机构和行业协会商会等社会力量作用,支持其协助有关部门开展第三方监管。四是广泛开展形式多样的诚信示范企业创建活动,引导企业设立信用监督岗位,加强企业内部诚信管理,提升企业守法诚信经营意识。
三、保障措施
(一)加强组织领导。各级各部门要把构建差异化监管模式作为加快流程再造、推进制度创新的重要举措,摆在更加突出的位置,加强组织领导,抓好改革任务的组织、协调和实施,落实人员、经费等必要保障,有力有序有效推动落地落实。
(二)强化制度供给。加快市场监管领域法规制度文件的立改废释,及时修订涉及差异化监管的规章制度文件,为深化改革扫清制度性障碍。推动出台山东省社会信用条例、山东省优化营商环境条例等地方性法规,为监管工作提供健全的法治保障。
(三)抓好工作落实。各级各部门要认真落实省委、省政府决策部署,按照本方案提出的各项措施和要求,科学配置监管资源,细化实化监管措施。
(四)积极宣传引导。各级各部门要采取多种有效形式,广泛开展政策宣传解读工作。注重基层首创精神,发掘更多新型监管“一招鲜”,及时形成可复制可推广的先进经验。组织新闻媒体广泛报道,积极宣传差异化监管措施及其成效,正确引导社会预期,营造良好改革氛围。
流程再造后图示
(一)任务一:大力推进信用分级分类管理

(二)任务二:全面落实“双随机、一公开”监管

(三)任务三:全面推广信用承诺制度
1.审批替代型信用承诺

2.主动公开型信用承诺

3.行业自律型信用承诺

4.信用修复型信用承诺

(四)任务四:深化细化包容审慎监管

(五)任务五:建立全生命周期的监管新模式
1. 全生命周期的联合监管新模式

2. 联合奖惩机制

3. 信用+政务应用场景

4. 信用+社会应用场景

5. 信用+市场应用场景

(六)任务六:实现信用信息全量归集

(七)任务七:加强监管执法政务诚信建设

(八)任务八:推动形成全社会共同监管局面

推进重点高频民生事项“掌上办”实施方案
为满足企业群众对政务服务便捷高效多元的新需求,根据省委、省政府关于深化制度创新加快流程再造的要求,现制定推进重点高频民生事项“掌上办”实施方案。
一、工作目标
适应移动互联网发展趋势,围绕企业和群众生产生活密切相关的政务服务事项,坚持高频优先、体验至上、标准统一、协同联动,推进系统整合和数据共享,重构政府部门业务流程和企业群众办事流程,建立完善适应掌上办理特点要求的业务管理机制和服务平台,推动高频民生事项“掌上办”,将“爱山东”APP打造成为全省移动政务服务“总门户”,进一步提升企业和群众办事便捷度、体验度和满意度。
二、主要任务
(一)夯实“掌上办”服务基础。加强政务服务事项标准化管理,实现一体化在线政务服务平台与“爱山东”APP有效衔接,深化数据共享应用,为移动政务服务提供统一支撑。
1.推动政务服务事项标准化。持续推动政务服务事项标准化,建立完善全省标准统一的政务服务事项库。依照实际业务办理场景及变化情况,对事项办理项进行“颗粒化”拆分,满足网上运行需求。建立长效管理机制,实现事项动态调整标准化。以满足办好“群众眼中一件事”需求为原则,编制主题式服务事项清单,2020年6月底前,再推出一批“全程网办”“全域办”和“秒批、秒办”事项。
2.加强“爱山东”APP平台支撑。依托省政府门户网站,完善场景化服务模式,实现服务“前端整合”、业务“一网通办”。完善“爱山东”APP系统功能,打通全省一体化在线政务服务平台与“爱山东”APP互联通道,进一步提升全省一体化在线政务服务平台对“多服务终端、多服务渠道”的支持保障能力。
3.提升基础数据保障能力。加快电子证照库建设,推动人口、法人单位等基础数据共享应用。推行证明材料在线获取、申请材料跨部门复用,2020年6月底前,实现“爱山东”APP服务事项数据“一处填报、全网通用”。
(二)拓展“掌上办”服务渠道。从企业和群众办事需求出发,推动各级各部门服务应用向移动端输出,推动实现一个APP可办、可查所有事。
4.提升“爱山东”APP服务能力。推动适合掌上办理的民生服务事项,向“爱山东”APP服务端汇集。加快推进证照电子化,梳理高频证照接入“爱山东”APP,实现“亮证即用”。加强“爱山东”APP分厅建设,构建“1+16+N”(1个省级分厅、16个市级分厅、N个县级分厅)的框架体系。2020年12月底前,“爱山东”APP实现全省“掌上办”服务事项不少于2000项,适合掌上办理的高频政务服务事项“应上尽上”;打造“电子卡包”,接入企业群众办事常用证照,全面开展电子证照“亮证”服务,实现“一部手机走齐鲁”。持续加强运营推广,增加用户粘性,提高社会关注度。
5.开展多移动端便民服务。依托全省统一政务服务事项库和一体化在线政务服务平台,制定统一接入标准,开放政务服务接口,逐步向第三方移动服务平台政务服务小程序和手机客户端APP输出应用。2020年5月底前,在微信、支付宝等主流第三方移动服务平台接入五险一金、教育科研、交通出行等一批高频民生服务事项,进一步拓展“掌上办”服务渠道,2020年12月底前,实现“掌上办”服务渠道统一管理,多平台同步运营。
(三)提高“掌上办”服务质效。对办理流程、办理材料等内容和要素进行优化,切实提升业务办理便捷度。
6.优化重点高频民生事项服务流程。聚焦社会保障、卫生健康、就业创业、民政救助、户籍办理、公安交管、交通运输等重点领域和老年人、残疾人、退役军人、高校毕业生、高层次人才等重点人群,以用户体验为导向,集中开展流程优化专项行动,推动高频民生事项场景化服务,2020年12月底前全面实现“一链办理”事项“掌上办”。
7.实行动态优化升级。总结首批民生事项“掌上办”经验,建立高频民生事项动态选取机制,不断扩大事项接入范围。实施高频民生事项服务流程动态优化,及时更新申请材料、申请表单、办理流程等内容和要素。加强政务数据资源需求、供给、使用和用户行为等数据指标的分析利用,完善政策精准推送、业务关联办理等个性化服务功能,不断优化高频民生事项“掌上办”服务体验。建立“好差评”和“找茬吐槽”机制。
(四)严格“掌上办”规范管理。健全规范运维和安全保障体系,创新运营机制,探索市场化服务模式,实现高效运营、长效发展。
8.强化服务运维保障。加强对“爱山东”APP及其他移动服务渠道各项应用服务在兼容性、功能、性能等方面的监管、检测和评估,完善故障问题预防和应急处置措施,形成省级统一管理、各级各部门分工负责的全省一体化运维保障体系,进一步提升“掌上办”服务质量。
9.落实安全管理责任制。加强关键基础设施安全防护,强化移动政务服务平台安全保障和运行管理。按照数据不泄露、门户不篡改、服务不中断的要求,建立健全安全管理和保密审查制度,加强安全规划、安全建设、安全测评、容灾备份等保障。加强安全态势感知分析,预测安全风险趋势,定期开展风险评估和压力测试,及时通报、整改问题,确保平台安全稳定运行。
10.建立统一运营服务机制。统筹规划“掌上办”运行管理工作,按照“管运分离”原则,通过符合政府采购有关规定的方式,鼓励技术、运营和管理水平一流的企业积极参与建设运营,让专业的人干专业的事,推动“掌上办”从单一系统建设向持续服务运营转变。
三、保障措施
(一)健全工作体系。加强对“爱山东”APP移动政务服务的组织领导,按照“全省一盘棋”的原则,建立省级统筹、分级负责的工作协调推进机制,明确责任分工,加强督导评估,形成齐抓共管、协同推进的工作局面。
(二)强化试点示范。建立试点示范和推广机制,积极推动新技术应用,加强移动政务服务能力建设。实施一批便民服务示范应用,形成最佳实践并在全省复制推广。
(三)加强品牌打造。强化宣传推广工作,充分利用电视、广播、报刊、互联网、新媒体,广泛宣传以“爱山东”APP为主渠道的移动政务服务新理念、新做法,加强舆论引导,不断提升公众认知度和社会应用水平,营造全社会关注、全民参与的浓厚氛围。
流程再造后群众网上办事流程图

注:再造后,群众办理不同事项,通过一体化在线政务服务平台申办,办事入口、结果反馈出口集中统一。
推动省直部门(单位)高效有序运行流程再造实施方案
为提高省直机关运行效率,根据省委、省政府关于深化制度创新加快流程再造的要求,现制定推动省直部门(单位)高效有序运行流程再造实施方案。
一、工作目标
聚焦政务运行扁平化、协同化、贯通化,通过机制上的优化调整,对省直职能部门的内部流程、跨部门的横向流程及上下级之间的纵向流程进行再造,最大限度削减层级、减少环节、精简手续、压缩时限,推动政务资源要素形成深度关联、跨界融合、开放协同、利他共生的生态系统,切实提高省直部门(单位)工作效率和运行质量。
二、重点任务
(一)推动省直部门内部流程扁平化
对部门内部流程进行扁平化再造,将有关事务决策执行由多个层级(主要负责同志↔分管负责同志↔部门中层负责人↔一般工作人员)压减为2个层级(顶格领导↔所有工作人员),运行时限压减50%以上。
1.建立顶格协调推进机制。实行重大事项“由上而下”顶格协调,部门主要负责同志或分管负责同志直接配置力量和资源,减少运行层次和环节,最大程度提高决策执行效率。
2.建立工作专班制。对于涉及多个处室的重要工作,建立相关处室共同参加的工作专班。部门主要负责同志或分管负责同志指定一个处室牵头,明确任务分工,统筹人员力量,实行“一口对外”。
3.建立适应性组织结构。聚焦提高效率,打破内部掣肘,改革组织架构和部门内部办事流程,按照同类事项一条线运行、一个领导分管、一个处室负责到底的原则,加强业务、信息、流程整合,提升处室动态适应性,实行“限时办结、一次办好”。
4.建立并联办理工作机制。对部门内部需要多个处室共同办理的事项,改“串联”为“并联”,实行并联办理,限时办结,办理时限向社会公开,接受社会监督。
5.建立创意创新激励机制。广泛激发企业家、专家学者等社会各界的想象力、创新力,将各方面创意创新导入工作决策过程。支持干部大胆创意、大胆变革,设立改革创新奖,营造激励广大干部创意创新竞相迸发的浓厚氛围。
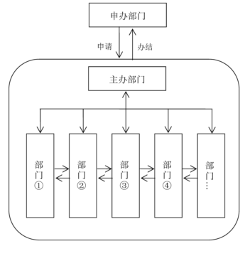
(二)推动横向部门之间流程协同化
对横向部门之间流程进行协同化再造,打通部门间沟通、协调、配合等壁垒,实现跨部门事项“一次办好”比例达70%以上;部门间征求意见时长压减至1个工作日,会签文件时长压减至3个工作日以内。
1.建立主办部门负责推进机制。对于涉及多个部门的事项,实行谁主办、谁牵头、谁负责。议事协调机构办公室设在部门或工作专班、职责边界清单事项的牵头部门为主办部门(省领导同志另有部署的,按省领导同志的部署确定;对于任务主要内容存在争议的,由省领导同志指定主办部门)。主办部门负责搭建协调平台,组织各相关部门推进任务实施。对于需要省领导同志出面协调的事项,只协调一次,只出一个会议纪要,主办部门按会议纪要推动落实。
2.强化主办部门职责权限。提高主办部门协调、调度各方的实际能力,赋予其评价参与部门工作成效的实际权责,并将落实主办任务情况作为对主办部门自身的考评依据,实现主办部门权限实质化、责任具体化、奖惩兑现化。完善评价激励机制,拉大绩效奖励差距,形成激励先进、鞭策后进的良好导向。
3.支持部门改革创新。对部门间征求意见出现的职责争议事项,相关部门沟通协商不一致的,由省委编办协调。避免不经慎重研究,简单以缺乏文件依据为理由,随意否决其他部门提出的切实可行的新思路、新政策、新举措。
4.建立“横向一体化”组织体系。优化对上机制,把多部门分别对上变为主办部门一口对上。完善部门间横向协作机制,把多部门串联办理变为并联同步办理。
5.建立协同监督推进落实机制。整合各类监督资源,丰富监督手段,强化监督效力。通过人大政协跟踪调研、问政质询、挂牌督导以及媒体曝光、政务热线、电视问政等多种方式,督促工作落实。
(三)推动纵向部门上下流程贯通化
对纵向部门上下流程进行贯通化再造,将政务运行层级由4层(省↔市↔县↔乡)压减为2层(省↔所有执行层),信息和指令跨层级、无中转传递,运行时间压减60%以上。
1.建立直通上下的网状流程。将“多点连接、分段传达”的链状流程改造为“一点发布、全网接收”的网状流程,打破信息指令和执行反馈由省↔市↔县(市、区)↔乡镇(街道)的层层传递模式,建立由省↔市、县(市、区)、乡镇(街道)的直通运转模式,以最少层级、最短路径传达部署任务、反馈执行情况。对于公开发布的文件,可以按公开程序通过媒体刊登二维码等形式向社会公开发布文件全文,将有关政策直达企业和群众。
2.建立流畅互动的直通机制。构建贯通上下、左右的全省一体化政务运行平台,实现全省全程网上办理。依托政务运行平台,建立问题直报机制,各县(市、区)每年可通过“提级调度机制”,提报一个最急需解决的问题,直接呈报省委、省政府;对省直部门意见建议以及需要解决的问题可同步报送省、市对口部门,省、市有关部门应在5个工作日内处理并回复。
3.建立决策实施的公开机制。推行决策事项公开答辩、听证会等制度,邀请“两代表一委员”、企业家、专家学者等社会各界人士参加有关重大政策举措答辩、听证,一般事项可面向本部门开展答辩、听证,使决策过程成为统一思想、完善提升的过程。建立行业协会商会主要负责人列席有关会议制度,开辟信息“直通车”,充分赋予市场主体知情权、发言权。
4.建立双向反馈的闭环体系。建立决策部门、执行部门和监督部门间的双向反馈制度,完善“决策→执行→反馈→再决策→再执行”运行体系。创新跨层级政务督查模式,引入第三方评估机制,强化督查和评估结果运用,促进政务效能提升。
三、保障措施
省直各职能部门要强化责任意识、主动意识,按照本方案部署,积极推进各项工作。结合本部门、本系统实际,认真研究制定贯彻落实具体措施,列出再造的重点流程清单,于2020年5月31日前报省委编办备案。省委办公厅、省委编办、省政府办公厅切实加强对方案执行的监督,注重运用信息化手段,对各职能部门削减层级、减少环节、精简手续、压缩时限情况进行跟踪督查,年终组织绩效评估,确保流程再造目标任务落实落地。
流程再造后图示
(一)部门内部运转流程
1.顶格协调推进机制

2.工作专班制

(二)部门之间运转流程

(三)跨层级之间运转流程

机构职能优化流程再造实施方案
为进一步优化部门职能运行、提高服务效能,根据省委、省政府关于深化制度创新加快流程再造的要求,现制定机构职能优化流程再造实施方案。
一、工作目标
坚持优化协同高效原则,以推动部门“三定”规定落实为抓手,解决部门职责任务不清晰、内部运转不高效、职责边界不准确等问题,推动形成内部深度融合、外部高效配合的部门职能运行机制,实现机构职能流程的再优化再塑造,为打造优质高效便捷办事环境提供体制机制保障。
二、主要任务
(一)细化部门主要职责
将部门“三定”规定中的主要职责进行细化分解,聚焦转变职能和优化职责,列出部门及内设机构职责任务清单,明晰各项工作任务、岗位规范、流程标准等,实现部门内部和部门之间流程再造,促进机构职能优化协同高效。在选择部分部门试点的基础上,2020年8月底前各部门完成细化分解工作,在门户网站或以其他方式公开并报省委编办备案。
(二)完善政府部门权责清单
根据法律法规规章立改废释、经济社会发展和全面深化改革需要以及机构职能调整等情况,对权责清单实行动态管理,统一规范省市县三级权责事项名称、类型、设定依据、编码等要素,并向社会公布。落实山东省政府部门权责清单管理办法,切实规范和约束部门履职行为。
(三)编制政府部门职责边界清单
省政府工作部门及部门管理机构、在省委工作机关挂牌的政府机构之间,需由两个以上部门共同完成的职责事项,纳入省级政府部门职责边界清单,理顺部门职责分工,明确履职边界。省委编办集中审核后,公布省级政府部门职责边界清单。2020年6月底前,市县审核公布本级政府部门职责边界清单。
(四)健全部门间协作配合机制
议事协调机构办公室设在部门、职责边界清单事项的牵头部门分别建立完善工作规则,明确相关部门的职责任务,确定相关部门主办、协办关系,明确有关工作由牵头部门启动、相关部门支持配合的具体运行方式。2020年5月底前各有关部门基本完成工作规则制定工作,并报省委编办备案。
(五)完善部门职能运行监管机制
按照省委、省政府年度重点任务安排,依据部门“三定”规定和权责清单,采取信息化手段对各部门职能运行情况进行常态化监管。研究制定省级机关职能运行监管工作方案,明确监管内容、方式,2020年研发建设省级机关职能运行监管系统,进行试运行。
三、保障措施
(一)强化绩效考核指挥棒作用。优化完善绩效考核指标标准、方式方法和步骤程序,督促各部门加快制度创新、流程再造。突出目标导向、结果导向,加大对省直部门担当作为干事创业、创新创优对标赶超等方面的绩效考核力度,检验各部门流程再造效果。
(二)强化机构编制资源统筹作用。定期评估分析各领域流程再造项目,相应优化调整有关职责配置和机构设置,保障部门开展制度创新流程再造。涉及重点领域、重点行业、流程再造等机构编制事项,加大统筹协调力度,实现上下贯通。