兼评2020年《著作权法》第三条

文章正文
发布时间:2024-02-29 22:33

摘要

互联网环境下作品类型呈扩大化趋势,2020年《著作权法》第三条对作品定义的修改和扩大,满足了日益增长的司法需求,减少了因新技术的发展带来的类型不明、涵盖不能、范畴不清的争议。本文意为我国新作品类型司法保护提供指引,解决司法实践中作品类型兜底条款司法适用机制难题,考虑新作品类型是否应纳入著作权保护体系时,首先判断其是否符合著作权法意义上的作品构成要件,其次,比对法定类型作品,符合即依法定作品类型保护,对于突破著作权法法定类型为某一智力成果提供保护时,需从功利主义视角、法律价值视角、社会规范视角、国际发展视角的角度充分论证司法救济正当性基础。

关键词

2020年《著作权法》第三条 新作品类型 其他符合作品特征的智力成果

所有的法律思想都力图协调稳定必要性和变化必要性这两种相互冲突的要求。

——〔美〕罗斯科·庞德

互联网环境下作品类型的

扩大化趋势

法律概念精准化是立法者之愿,但日新月异的科技发展使得绝对精准并非易事,随着互联网科技的快速发展,创作门槛降低,创作方式更灵活多样,新的表现形式不断涌现,智力成果呈扩大化趋势。

关于作品定义与作品类型分类面临着新挑战,我国现行《中华人民共和国著作权法》(以下简称“《著作权法》”)第3条列举了从文字作品至计算机软件的八种作品类型与“法律、行政法规规定的其他作品”,由于法律、行政法规并未另行规定“其他作品”,目前,我国《著作权法》保护的作品类型限于《著作权法》列举的八种作品类型。限定性“作品类型法定”模式是我国立法者有意为之的选择,在文化市场发展之初较为适合我国国情,以英国版权法为典型的许多国家与地区同样采取了严格“作品类型法定”模式,如印度、澳大利亚、爱尔兰、马来西亚等。但随着科技发展与观念革新,“限定性”的作品定义与分类模式将难以囊括伴随互联网不断涌现的新作品形式,立法时未出现或未纳入的作品类型,在司法实践中很难得到法律的有效保护。

在司法实践中,网络直播、网络游戏画面、游戏场景地图、人工智能生成内容、动图、MTV、MV、短视频、3D打印作品、虚拟现实作品、计算机字体、网页等是否构成作品、构成何种作品类型、是否应纳入著作权法保护范围、保护程度如何是著作权法理论与实践中颇有争议司法难题。

2020年《著作权法》第三条

对作品的修改与扩大

2020年《著作权法》第3条对作品定义的修改与扩大适应了数字时代发展需求,第一,通过“种差加属”的逻辑方法清晰定义了作品,将《著作权法实施条例》第2条作品的定义作为作品的“属”概念加入《著作权法》第3条,同时通过不同的表现形式区分作品类型,作品也要符合“种差”概念,不同类型作品的权利归属与规则衔接不同。第二,通过建立“开放式”的作品分类模式,由“封闭式”作品类型走向“开放式”作品类型以不断满足新出现的作品类型,将第九项兜底条款由“法律、行政法规规定的其他作品”变更为“符合作品特征的其他智力成果”。第三,引入“视听作品”类型,其内涵和外延比“电影作品与以类似摄制电影的方法创作的作品”更为宽泛,更能满足司法需求,减少因新技术的发展带来的一些类型不明、涵盖不能、范畴不清的争议。

2020年《著作权法》第3条的修改有利于解决作品类型限定的僵化性司法困境,封闭式的作品类型定义将新类型作品排除在外,若需要对作品进行司法保护则有扩张解释之嫌,而开放式的作品分类模式既贯彻了作品类型法定原则,又解决作品类型限定的僵化性司法困境。同时,此类模式有利于实现著作权法鼓励作品创作与传播的立法宗旨,在与时俱进中保障著作权人的合法权益,促进新兴文化产业的繁荣发展。

“开放式”立法模式确实大有裨益,但其是否会增加著作权司法保护不确定性的风险,同时,在面对新类型作品时,该如何援引法律条文作为依据,2020年《著作权法》第3条中的兜底条款该如何适用,该条款是否可视为在司法裁判中用于创设新类型作品的开放性授权条款,在司法实践中亦无定论。

作品类型兜底条款司法适用之

方法证成

兜底条款的法律适用过程中必然涉及证成,如法理学中以三段论演绎推理为方法的内部证成与外部证成,2020年《著作权法》第三条第九项兜底条款的司法适用机制亦有不同的证成方式,从不同角度将新类型作品纳入著作权保护体系中。

(一)

类型化分析法

作品类型法定原则的方法论基础为类型化分析法。类型化规则方法论下,新类型作品只能通过归入法定作品类型才能更好的衔接著作权体系。类型化分析法在法律适用中具有正当性,第一,示例指引。作品类型化的重要功能便是例示指引,类型比概念更具体,“当抽象概念及逻辑体系不足以阐释某种定义或现象时,大家首先会用的补助思考形式是类型”,故而采用概念与类型并用的“概括+列举模式”是立法常用的方式。类型化分析处理能提供找法便利,减轻解释负担,节省司法运作成本,降低社会成员判断特定行为法律性质的决策成本。第二,规则匹配。作品类型化通过摄涵过程以匹配著作权法所对应规则,不同类型作品的权利主体、权利内容、保护期限及例外规则均不同,如展览权只针对美术作品、摄影作品,摄制权只针对视听作品,因此新作品的归类不能仅判断其表现形式、直观感受判断与哪类作品相似,更重要的是要考虑与哪种作品类型规则相契合。第三,规范功能。类型化分析使公众能快速、简便的检测明某种表达形式是否纳入作品范围之内,在文化市场中有助于明晰权利界限、维护交易安全,降低交易风险。第四,确立作品标准。不同类型作品的创作要求不同,以德国的“小铜币理论”为例,不同类型作品的表现形式与效果均不同,应该采取不同程度的要求与标准。

因此,在类型化方法论中,新类型作品只有通过适用已有的作品类型的法律保护标准才能实现著作权法上的有效保护,避免为新类型作品提供不确定性保护与泛化保护,这也是部分学者坚持严格的作品类型法定的缘由所在。

(二)

作品要件构成法

作品构成要件法中,对待新类型作品的处理模式是无需考虑智力成果是否属于法定作品类型,只要创作成果符合著作权法意义上的一般作品构成要件便都是作品,援引作品定义予以保护即可。作品构成要件说主要源于《伯尔尼公约》与《德国著作权法》的相关规定,《伯尔尼公约》第2条第1款的规定,“文学、科学和艺术领域内的一切成果,不论表现形式或表现方式如何都是作品。”,《德国著作权法》则为每种作品类型提供同等的法律保护,其主张将智力成果归入特定作品类型并非必要,因为本质上法律结果并无较大差异,此种方法对于我国司法实践中新作品类型认定亦有重要参考价值,部分学者认为新类型作品否能归入法定作品类型,并不是作品受保护的前提条件,作品构成要件才是唯一标准,新类型作品出现有益于文化繁荣而无损于公共利益,若新类型作品由于无法归类到法定作品类型便无法得到保护,将阻碍社会创新进步。

(三)

类比法与归入法

类比推理分为完全类推与不完全类推,通过类比推理形式将新类型作品与法定作品类型进行比对,完全类推或相似度较高的不完全类推可归入法定作品类型的范畴进行保护。通过类比法与归入法等方式,我国在司法实践中曾将发型设计、音乐喷泉、插花设计通过类比推理,归入美术作品范畴,英国的“鸽巢方法” 也是归入法的典型运用。类比推理的重要类比点通常是作品类型中具有法律意义的共有特征,这取决于规范上之的价值判断。

这种方法与类型化处理法相同,对新类型作品提供保护时能与著作权体系自恰,能避免“符合作品特征的其他智力成果”损害著作权建立的逻辑体系与著作权法的整体性。但不同的是,若不完全类推程度太低时则无法归入法定作品类型,应考虑其他方式对新类型作品予以保护。

构建新作品类型著作权保护路径

作品类型演变是缓慢而渐进的,即使需要将新的表达形式纳入作品保护范围,也应当应秉承审慎性保护原则,有利于著作权法保持法律关系的确定性与保护内容的可预期性。因此,通过对作品类型兜底条款司法适用的方法证成分析,笔者认为可构建新作品类型著作权保护“三步走”路径(见图1)。

(图1)

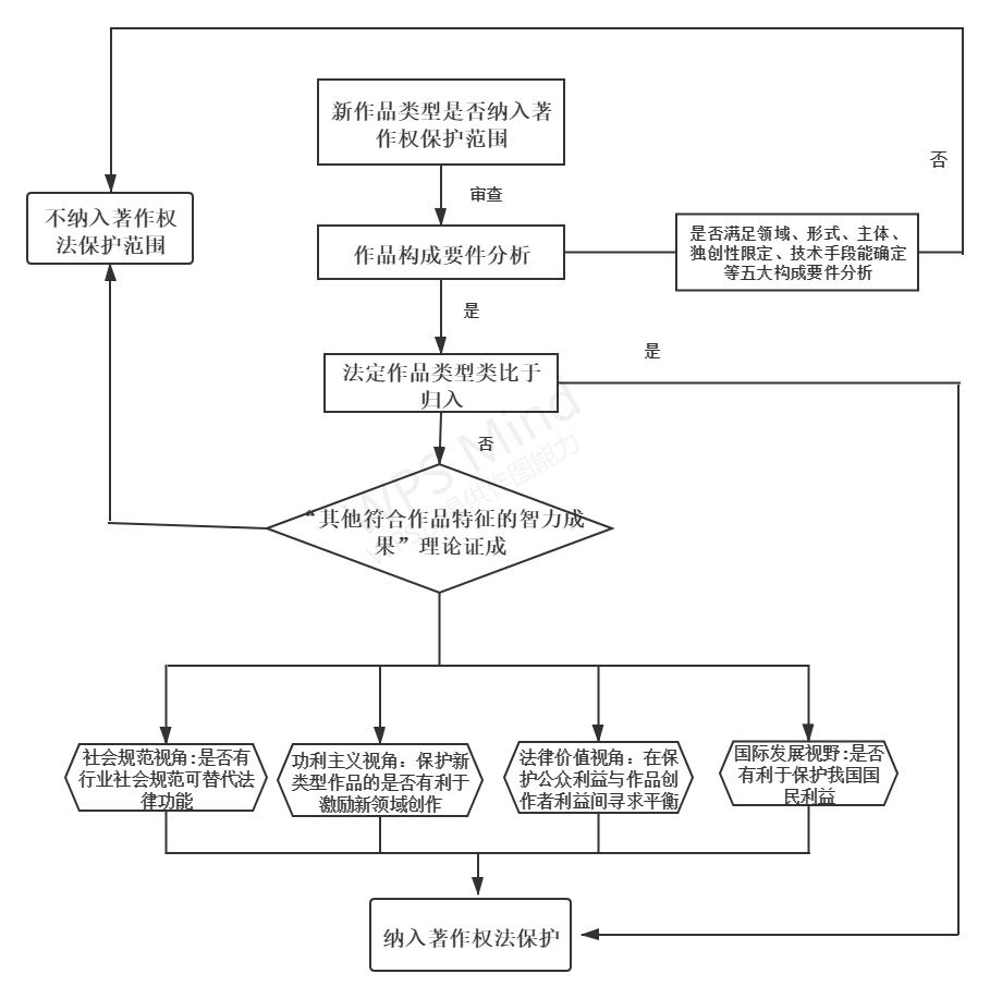
首先判断其是否符合著作权法意义上的作品构成要件,其次,比对法定类型作品,符合即依法定作品类型保护,对于突破著作权法法定类型为某一智力成果提供保护时,需从功利主义视角、法律价值视角、社会规范视角、国际发展视角的角度充分论证司法救济正当性基础,确保对新类型作品不过分扩张保护。具体而言,可采取涵摄识别路径(见图2)予以新类型作品是否应纳入著作权法保护范围:

(图2)

(一)

作品构成要件分析

在认定新类型作品时,首先应判断其是否满足著作权法意义上作品的构成要件。依据2020年《著作权法》第3条规定,作品的构成要件主要可归纳为以下方面:

1.领域限定。作品需是“文学、艺术、科学领域内”的具体表达,只有在特定领域传递思想、知识或者具有独立美感的智力成果才构成作品,因此马戏、魔术、杂技等技术领域内的操作方法、体操动作、形体动作实用功能型应排除在作品的范围之外。

2.形式限定。作品须是“能以一定形式表现”,即能够为人所感知的具体表达。抽象的思想、概念等不是著作权法所保护的客体。

3.主体限定。作品必须是人类基于主观能动性创造的智力成果,因此人工智能内容、自然景观等不属于主观表达思想或者感情的智力成果不应包括在作品范围内。

4.独创性限定。独创性是作品之核心要件,“独”意味着“本人独立创造”,“创”意味着“符合一定的创造性标准”,创造性体现在不属于公有领域,且留有足够的个性发挥与智力创造空间。赛事直播类型等的拍摄通常选取视野较好,总览全场的方向定位与机位安排,并未预留有个性化选择空间,因此,将体育赛事直播画面等纳入作品范围不具有合理性。

5.技术手段限定。著作权法保护的作品必须是能够被客观、精准地评定的表达方式,而香水、食品等的味道尚无法通过技术手段客观、精准确定,因此目前不属于著作权法中的作品,倘若随着技术的发展,能够通过相应科技手段确定界限,对其赋予著作权的保护亦符合实际情况。

(二)

法定作品类型类比归入

对符合作品构成要件的新类型作品提供救济时,首先,法官应当根据其表达形式,进行类比推理,与法定作品类型对号入座;其次,当该表达不能实现完全类比并归入法定作品类型时,应以体系解释、文义解释、目的解释等方式实现涵摄。由于有限理性及时代更替的限制,立法者将定义的内涵外延及兜底条款的解释权配置给司法者;第三,若特定表达完全超出法定作品类型的内涵与外延范围时,司法者只能明确排除特定表达构成2020年《著作权法》第3 条列举八项“有名作品”的前提下才能解释适用“符合作品特征的其他智力成果”。

此外,《著作权法》第二章第二节中的汇编作品、演绎作品等是否属于法定作品类型存在分歧认识。笔者更偏向于汇编作品、演绎作品等并非2020年《著作权法》第3条法定作品类型,不能以此类作品之名作为比对归入对象与获得救济的依据。第一,以体系解释方法,汇编作品、演绎作品等位于第二章第二节“著作权归属”之中,汇编作品等并非为了解决作品分类问题,而是为了解决著作权的归属问题。第二,以文义解释方法,如汇编作品是通过对内容的选择或编排体现独创性,其分类标准的为创作方法,法定类型作品的分类标准是依据作品的表现形式,分类标准并不相同。第三,以目的解释方法,立法之初,立法者已经在法律规则中明确规定了汇编作品等,其不属于新的表达形式,亦未列入的法定著作权法定作品类型,也无法纳入“符合作品特征的其他智力成果”的范围。同时,汇编作品等无法匹配作品类型的保护期限、权利配置等规则,不能为司法裁判提供直接指引,因此新类型作品需依据2020年《著作权法》第3条中予以法定作品归类,不应归入汇编作品等类型。

(三)

“其他符合作品特征的智力成果”理论证成

2020年《著作权法》采取了开放式立法,但司法实践应秉持审慎原则,突破著作权法法定类型为某一智力成果提供保护时需要充分论证司法救济正当性基础,剖析作品类型兜底条款之适用机理。审慎原则主要体现在两个维度:一是是否有保护的必要;二是保护方法、程度如何保持谦抑性。具体而言,可从激励理论、著作权价值目标,社会规范视角、国际发展视角四方面进行考量,考虑著作权法以“其他符合作品特征的智力成果”予以保护所带来的寒蝉效应是否有利于行业发展,是否有利于激励新类型作品创造,是否与行业规范相冲突,是否符合社会公共利益、国际利益等。

1.功利主义视角

从功利主义视角,考虑新类型作品保护的是否有利于激励新领域创作。功利主义是知识产权产生的正当性理论基础。知识产权是激励创新之动力源泉,对于推动文化市场的繁荣创新有重要作用,但传统激励理论是建立于作品稀缺性之上,然而,随着文化水平提升与技术手段革新,创造作品已不再稀缺,同时在有些资本密集的领域内市场的力量便可推动其发展,无需知识产权激励就能有效创作,即知识产权“负空间”。

因此,对作品创造的激励必须是有限度的,过分激励引发的问题不容小觑。在新类型作品认定时,对“无需激励就能有效创作的领域”需保持审慎,以音乐喷泉为例,著作权法不能实现音乐喷泉的创作激励,对音乐喷泉予以著作权保护也不会让更多的音乐喷泉出现。

2.法律价值视角

从法律价值视角,考虑新类型作品保护是否能维持保护公众利益与作品作者利益的平衡,著作权法的法律价值便是利益诉求的保护与平衡,一方面著作权法要扩大公有领域范围,促进人类文明创新和技术进步,另一方面也要保护付出辛劳的作品创作者利益。若著作权的主体与内容不断扩张,“反公有领域”与“圈地运动”现象不断强化,压缩、侵蚀公有领域空间,损害社会公众获取信息的能力与公众利益,最终优秀文化产品不能普惠民众,这并不是著作权法立法价值所在,著作权远非一种财富再分配的理想工具。

因此,应充分考虑法律价值取向,审慎地对新类型作品提供有限保护,既不能一概排除新类型作品,过于严格版权立法、司法可能带来反乌托邦未来,但也不能扩张保护,不利于知识的有效传播和利用。

3.社会规范视角

从社会规范视角,考虑是否有社会规范能替代法律发挥规制功能。社会规范是群体成员广泛认可的行为标准,许多社会规范为社会秩序的维护提供了方法,社会规范可能是比法律更有效的制裁手段。若将所有符合作品要件的客体均纳入著作权保护范围,既浪费有限的司法资源,亦压缩了著作权领域社会规范的空间。如香水、瑜伽、菜谱、花束等传统领域,存在着多年形成的行业社会规范,行业的负面评价可能比法律规范更有制裁效果。因此,若将这些传统领域均纳入著作权法范围确无必要,该领域经过长期形成的商业模式运行,已形成了由社会规范维持的良好秩序,强行纳入将破坏这些领域的运作机制,损害行业的健康发展,对于尚未形成社会规范共识的新型行业,以法律规范予以引导则具可行性。

4.国际发展视角

从比较法视角,考虑新类型作品保护是否有利于保护国民利益。在《伯尔尼公约》国际条约的体系下,各国采取不同的作品类型保护模式,其中美国、欧盟、荷兰、法国等国是相对开放的立法模式,如《欧盟信息社会指令》中未明确规定著作权保护客体范围,仅依据欧洲法院个案的解释和认定确定保护客体。荷兰则采用了“概括式定义+非穷尽式列举”的作品定义与分类模式。

在数字时代,各类新型文化智力成果层出不穷,如果同样的新型表现形式,依照其他国家的著作权法均纳入保护范围,而却无法获得我国的著作权法庇护,不利于保护我国国民利益,也会导致我国在文化市场国际公平竞争中处于劣势地位。

结语

法律思想都力图在变化必要性和稳定必要性中寻求平衡,在限制处能动,在自由处谦抑。在秉持司法审审慎原则的基础上,应积极回应新时代的发展需求,既为新作品的创作与保护预留适度的空间,也保持司法的谦抑性和可预期性,进而促进我国文化事业与产业的健康、长远发展。

本文注释因排版原因略去

首页
评论
分享
Top